Operation CHARM: Car repair manuals for everyone.
Manuals through 2025 now available!

Our trusted friends have launched a new website named LEMON, which has newer manuals. It also contains all the CHARM manuals.

LEMON is the spiritual successor to CHARM, I recommend you try it!

Link: lemon-manuals.la or lemon-manuals.org.ua

(Some people have issue connecting. LEMON is investigating. For now, use Firefox or change your DNS server)

Or, hide this message: temporarily or permanently

Coolant Line/Hose: Service and Repair

Radiator Pipe Replacement - Outlet

Removal Procedure





1. Drain the cooling system.
2. Remove the exhaust manifold heat shield bolts and shield.





3. Remove the cover to the outlet pipe bolt (1) through the exhaust manifold runners.
4. Raise the vehicle. Refer to Vehicle Lifting.





5. Disconnect the radiator outlet hose (1) from the radiator outlet pipe (3).





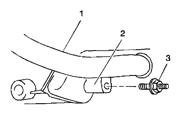
6. Remove the radiator outlet pipe (1) to the oil pan (2) bolt (3).





7. Remove right front wheel/tire assembly.
8. Remove right engine splash shield.
9. Remove trans-to-engine brace.
10. Remove the radiator outlet pipe.
11. Remove the thermostat (2).
12. Clean the mating surfaces of the radiator outlet pipe and the coolant pump cover.

Installation Procedure





1. Install the thermostat (2).
2. Install radiator outlet pipe.





Notice: Refer to Fastener Notice in Service Precautions.

3. Install the radiator outlet pipe (1) to oil pan (2).
^ Tighten the outlet pipe to oil pan bolt to 26 Nm (19 ft. lbs.).





4. Connect the radiator hose (1) to the outlet pipe (3).
5. Install trans-to-engine brace.
6. Install right engine splash shield.
7. Install right front wheel/tire assembly.
8. Lower the vehicle.





9. Install the outlet pipe bolts(1) through the exhaust manifold runners.
^ Tighten bolts to 14 Nm (10 ft. lbs.).





10. Install the exhaust manifold heat shield and bolts.
^ Tighten the exhaust manifold heat shield bolts to 14 Nm (10 ft. lbs.).
11. Fill the cooling system.
12. Start the engine. After the engine reaches normal operating temperature, check for coolant leaks.