Operation CHARM: Car repair manuals for everyone.
Manuals through 2025 now available!

Our trusted friends have launched a new website named LEMON, which has newer manuals. It also contains all the CHARM manuals.

LEMON is the spiritual successor to CHARM, I recommend you try it!

Link: lemon-manuals.la or lemon-manuals.org.ua

(Some people have issue connecting. LEMON is investigating. For now, use Firefox or change your DNS server)

Or, hide this message: temporarily or permanently

Electrical Diagrams

Schematic and Routing Diagrams





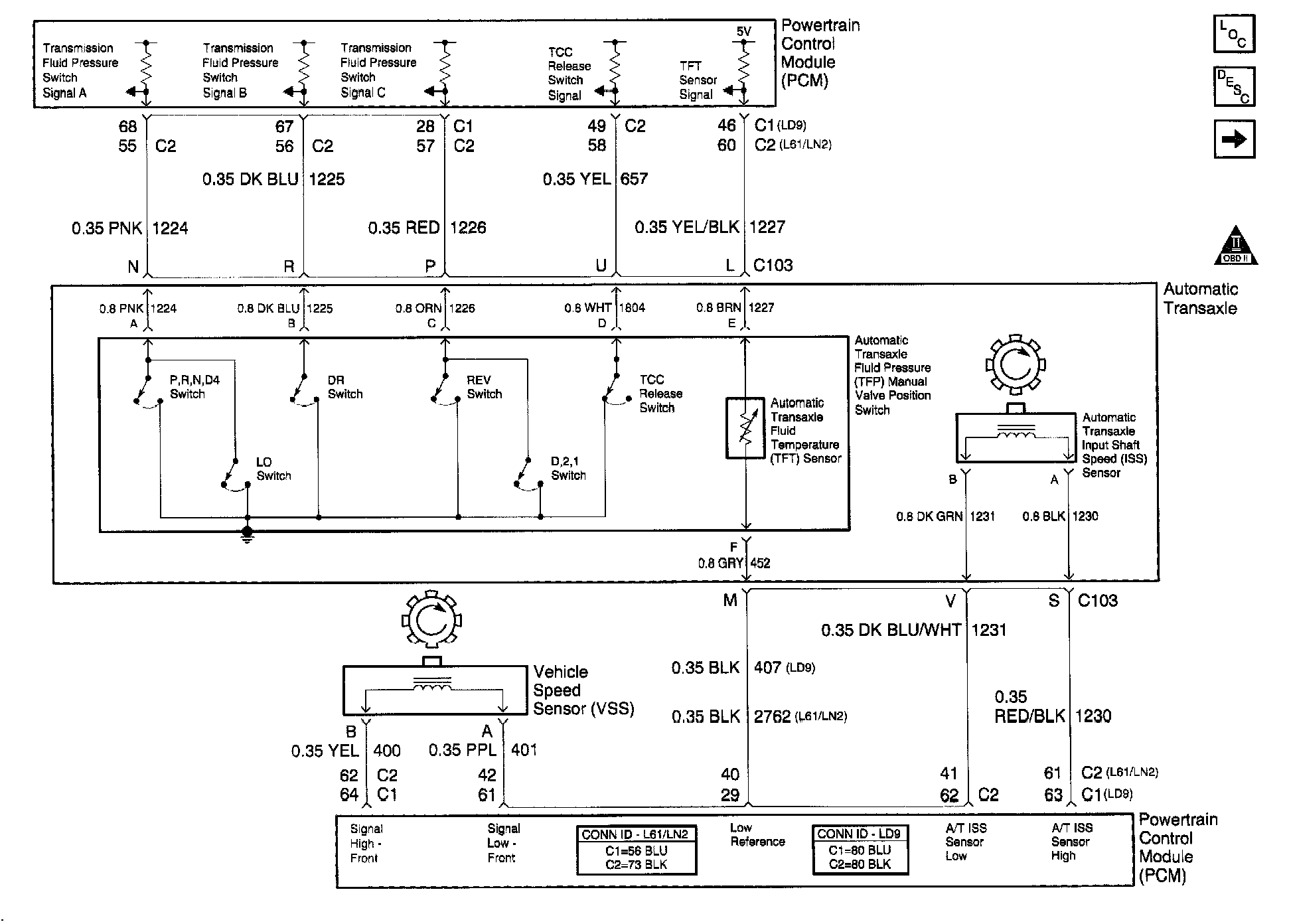
Automatic Transmission Controls Schematics (TFT Switch and Speed Sensors)





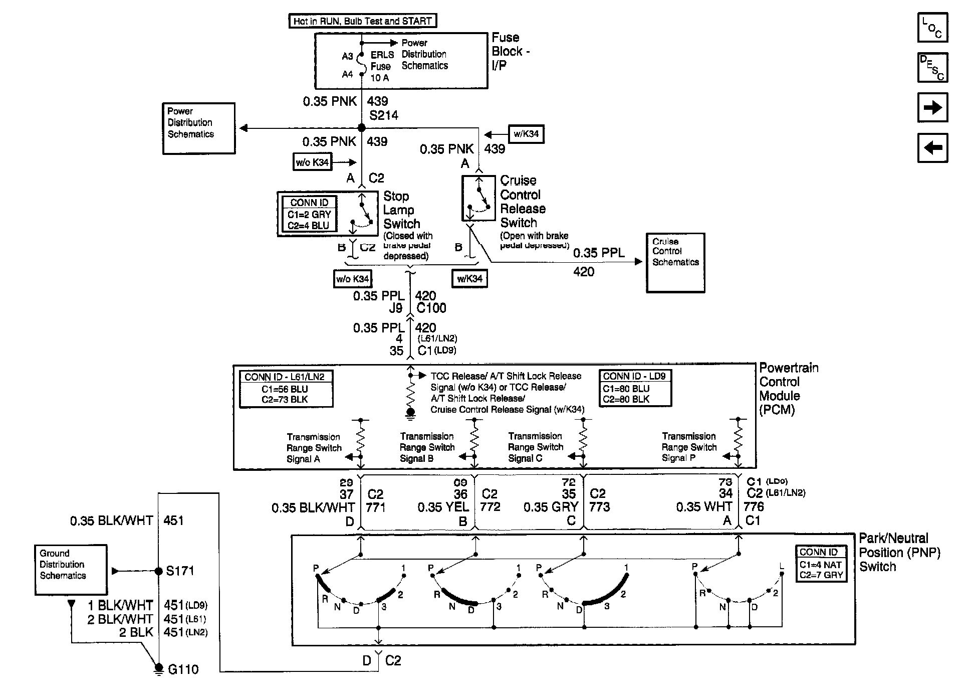
Automatic Transmission Controls Schematics (PNP Switch and TCC Release Signal)





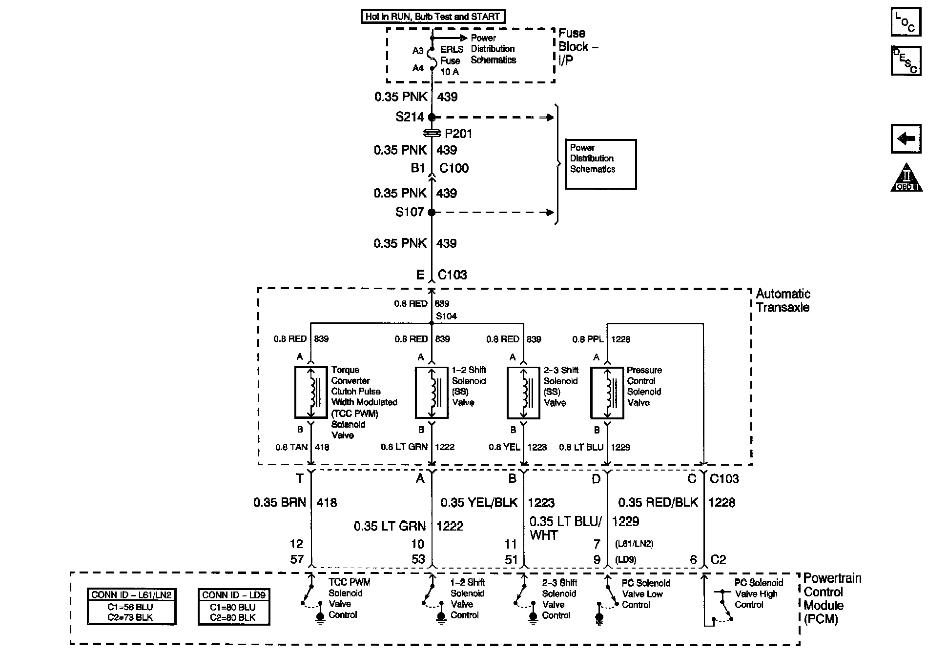
Automatic Transmission Controls Schematics (Solenoid Controls)