Operation CHARM: Car repair manuals for everyone.
Manuals through 2025 now available!

Our trusted friends have launched a new website named LEMON, which has newer manuals. It also contains all the CHARM manuals.

LEMON is the spiritual successor to CHARM, I recommend you try it!

Link: lemon-manuals.la or lemon-manuals.org.ua

(Some people have issue connecting. LEMON is investigating. For now, use Firefox or change your DNS server)

Or, hide this message: temporarily or permanently

Pressure Regulating Solenoid: Service and Repair

Pressure Control Solenoid (PCS) Replacement

Removal Procedure





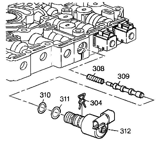
Important: Retainer clips hold in each of the valve line-ups. Use a small screwdriver in order to remove the retainer clips. Be careful not to score the valve body when removing the retainer clips and valves. Before removing the valve line-ups, inspect each valve line-up for freedom of movement.

1. Remove the transmission side cover.
2. Remove the Pressure Control Solenoid (PCS) retainer clip (304), the PCS with two O-rings and screen (312, 309, 310), the torque signal regulator valve (309), and the torque signal regulator spring (308).

Installation Procedure





1. Install the torque signal regulator spring (308), the torque signal regulator valve (309), the Pressure Control Solenoid (PCS) with two O-rings and screen (312, 309, 310) and the PCS retainer clip (304).
2. Install the transmission side cover.