Operation CHARM: Car repair manuals for everyone.
Manuals through 2025 now available!

Our trusted friends have launched a new website named LEMON, which has newer manuals. It also contains all the CHARM manuals.

LEMON is the spiritual successor to CHARM, I recommend you try it!

Link: lemon-manuals.la or lemon-manuals.org.ua

(Some people have issue connecting. LEMON is investigating. For now, use Firefox or change your DNS server)

Or, hide this message: temporarily or permanently

Removal and Replacement

Transmission Replacement
^ Tools Required
- J 35944-A Transmission Oil Cooler and Line Flusher

Removal Procedure





1. Disconnect the negative battery cable.
2. Disconnect the air duct hose from the intake plenum.
3. Install the engine support fixture.
4. Disconnect the transaxle wiring harness from the transaxle and the PNP switch.





5. Remove the upper transmission to engine bolts and stud.
6. Raise and support the vehicle. Refer to Vehicle Lifting.
7. Remove the front wheel and tire assemblies.
8. Remove the left front fender liner.
9. Disconnect the engine strut from the lower engine mount strut bracket.
10. Remove the wiring harness from the retaining clips.
11. Remove the steering gear mounting bolts and secure the steering gear with mechanics wire.
12. Disconnect the wheel speed sensor wires from the both front wheels and unclip from the frame.
13. Separate the ball joints from the steering knuckles.
14. Remove the lower suspension support.





15. Remove the 2 bolts from the transmission brace.





16. Disconnect the shift cable from the shift linkage.
17. Disconnect the cable from the bracket.





18. Remove the flywheel inspection cover.
19. Remove the starter.
20. Mark the relationship of the flywheel to the torque converter for reassembly.





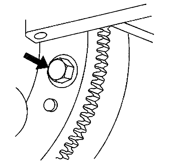
21. Remove the torque converter to flywheel bolts.
22. Remove the transmission cooler lines by removing the nut holding the bracket to the transaxle case.





23. Disconnect the VSS wiring harness from the sensor.
24. Disconnect the wheel drive shafts from the transaxle.
25. Lower the vehicle.
26. Remove the body to transmission mount bolts.
27. Lower the transmission and engine with the engine support fixture enough to remove the transmission.
28. Raise the vehicle.
29. Remove the oil pan to drain the transmission.
30. Install the oil pan.
31. Support the transmission with a suitable jack.





32. Remove the transaxle to engine nut.
33. Separate the engine and the transaxle.
34. Remove the transaxle from the vehicle.
35. Remove the PNP switch.
36. Remove the shifter cable bracket.
37. Remove the lower transmission to engine stud.
38. Remove the transmission mount.
39. Flush the transmission cooler and the lines with the J 35944-A, or equivalent, whenever the transmission has been removed for overhaul or replacement.

Installation Procedure





1. Install the PNP switch.
2. Install the shifter cable bracket.
3. Install the lower transmission to engine stud.
4. Install the transmission mount.
5. Position the transaxle in the vehicle.





Notice: Refer to Fastener Notice in Service Precautions.

6. Install the lower transmission to engine bolts and nuts.
^ Tighten the bolts and nuts to 90 Nm (66 ft. lbs.).
7. Lubricate the transaxle cooler pipes before inserting into seals.
8. Connect the transaxle cooler pipes to the transaxle.
^ Tighten the cooler pipes to 8 Nm (71 inch lbs.).





9. Install the torque converter to flywheel bolts.
^ Tighten the torque converter bolts to 62 Nm (46 ft. lbs.).
10. Install the wheel drive shafts to the transaxle.





11. Connect the wiring harness to the VSS.





12. Install the starter.
13. Install the flywheel inspection cover bolts.
^ Tighten the bolts to 10 Nm (89 inch lbs.).
14. Lower the vehicle.
15. Use the engine support fixture to raise the engine and transmission assembly.
16. Install the transaxle mount to body bolts.
^ Tighten the bolts to 90 Nm (66 ft. lbs.).
17. Raise the vehicle.
18. Reposition the wiring harness into its clips on the body rail.





19. Install the front suspension support assembly.
20. Connect the ball joints to the steering knuckles.
21. Route and clip the wheel speed sensor wiring into the proper position on both sides.
22. Install the steering gear to the front suspension crossmember.
23. Install the steering gear bolts to the front suspension crossmember.
^ Tighten the bolts to 110 Nm (81 ft. lbs.).





24. Install the transmission brace bolts.
^ Tighten the bolts to 72 Nm (53 ft. lbs.).
25. Install the left front fender liner.
26. Install the front wheel and tire assemblies.
27. Lower the vehicle.





28. Install the upper transmission to engine bolts and stud.
^ Tighten all of the bolts to 90 Nm (66 ft. lbs.).
29. Install the engine wiring harness grounds to the transaxle to engine mount stud and nut.
^ Tighten the nut to 8 Nm (71 inch lbs.).
30. Remove the engine support fixture.





31. Install the shift linkage to the transmission.





32. Connect the electrical connectors to the PNP switch and transaxle.
33. Connect the air duct hose to the intake plenum.
34. Connect the negative battery cable.
35. Inspect the transmission fluid level.