Shimming Procedures
Shimming Procedures^ Tools Required
- J 7079-2 Universal Driver Handle - Non-Threaded
- J 44385 Differential Bearing Race and Seal Installer
- J 44388 Final End Checking Fixture
Important: Remove all of the old shims before performing the Shimming Procedures.
1. Make sure the bearings are fully seated in the case.
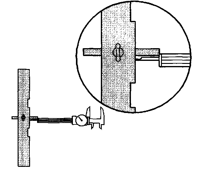
2. Position the transaxle on a bench so that the bearings are resting on a flat surface.
3. Using a rubber mallet, tap lightly on the case mating surface to ensure the bearings are fully seated.
4. Measure the distance of the transaxle case parting surface to the output shaft gear thrust washer surface using the J 44388-1.
5. Place the J 44388-1 on the case parting surface.
6. Extend the gage rod on the J 44388-1 until it is bottomed on the output shaft gear thrust washer.
7. Tighten the thumbscrew on the J 44388-1 to retain the gage rod.
8. Measure and record the length of the gage rod protruding from the gage bar (measurement A).
9. Make sure the left differential bearing race is fully seated into the transaxle case using the J 7079-2 (1) and the J 44385 (2).
10. Install the J 44388-2 into the left differential side bearing race. Ensure that the J 44388-2 is fully seated into the left differential side bearing race.
11. Remove the gage rod from the J 44388-1 (2).
12. Place the bar of the J 44388-1 (2) onto the gage rod of the J 44388-2 (1).
13. Tighten the thumbscrew on the J 44388-1 (2) to retain the J 44388-2 (1) gage rod.
14. Measure the overall height of the J 44388-1 (1) and J 44388-2 (2) (measurement B).
15. Measure the height of just the J 44388-1 (measurement C).
16. Subtract the height of the J 44388-1 (measurement C) from the overall height of the J 44388-1 and J 44388-2 (measurement B) and record (measurement D).
17. Place the differential assembly onto the J 44388-4 to provide a steady measuring surface.
18. Install the rod back into the J 44388-1 (1).
19. Place the J 44388-1 (1) across the face of the ring gear.
20. Center the gage rod of the J 44388-1 (1) over the land for the left differential side bearing shim.
21. With the gage rod of the J 44388-1 (1) fully seated on the shim land for the left differential side bearing shim, tighten the thumbscrew on the J 44388-1 (1).
22. Measure and record the length of the gage rod protruding from the J 44388-1 (measurement E).
23. Remove the Vehicle Speed Sensor (VSS) ring.
Important: Both retaining rings must be removed from the pinion shaft to ensure proper removal of the differential pinion shaft.
24. Remove and discard both the differential pinion shaft retaining rings and remove the differential pinion shaft.
25. Insert the J 44388-3 (1) through the center of the differential until it rests firmly on the J 44388-4 (2).
26. The distance from the top surface of the J 44388-3 (1) to the land of the right differential side bearing shim is measured and recorded (measurement F).
27. Subtract measurement F from 127 mm (5 inch) (measurement G).
28. To obtain shim size for left differential side shim (1) use the following formula:
Shim (1) = E - A + D - 19.036 mm (0.749 inch).
29. To obtain shim size for right differential side shim (2) use the following formula:
Shim (2) = 94.65 mm (3.726 inch) - G - shim (1).