Operation CHARM: Car repair manuals for everyone.
Manuals through 2025 now available!

Our trusted friends have launched a new website named LEMON, which has newer manuals. It also contains all the CHARM manuals.

LEMON is the spiritual successor to CHARM, I recommend you try it!

Link: lemon-manuals.la or lemon-manuals.org.ua

(Some people have issue connecting. LEMON is investigating. For now, use Firefox or change your DNS server)

Or, hide this message: temporarily or permanently

Trim Height Inspection

Trim Height Inspection Procedure

- Tools Required
- J 42743 Trim Height Adjustment Tool
- J 42854 Trim Height Measurement Gauge

Trim Height Measurements
Trim height is a predetermined measurement relating to vehicle ride height. Incorrect trim heights can cause bottoming out over bumps, damage to the suspension components and symptoms similar to wheel alignment problems. Check the trim heights when diagnosing suspension concerns and before checking the wheel alignment.
Perform the following before measuring the trim heights:
1. Set the tire pressures to the pressure shown on the certification label.
2. Check the fuel level. Add additional weight if necessary to simulate a full tank.
3. Make sure the rear compartment is empty except for the spare tire.
4. Make sure the vehicle is on a level surface, such as an alignment rack.
5. Close the doors.
6. Close the hood.
7. All dimensions are measured vertical to the ground. Trim heights should be within 13 mm (0.5 inch) to be considered correct.

Z Height Measurement

Important: The Z height dimension measurement determines the proper ride height for the front end of the vehicle.

1. Lift the front bumper of the vehicle up about 38 mm (1.5 inch).
2. Gently remove your hands.
3. Allow the vehicle to settle into position.
4. Repeat this jouncing operation 2 more times for a total of 3 times.





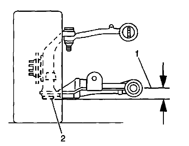
5. Measure the distance between the lowest point of the ball joint (2) and the center of the front side of the lower control arm mounting bolt (1), using the J 42854.
6. Push the front bumper of the vehicle down about 38 mm (1.5 inch).
7. Gently remove your hands.
8. Allow the vehicle to rise.
9. Repeat the operation for a total of 3 times.
10. Measure the Z dimension from both the right and left side.
11. The true Z height dimension number is the average of the high and the low measurements.





Z Height Adjustment

Important: When adjusting the spring adjuster bolt, J 42743 must be used in order to prevent damage to the rubber shear pad on the end of the bolt. One complete turn of the spring adjuster bolt is equal to 2 mm (5/64 inch).

1. Using J 42743, adjust the Z trim height by turning the spring adjuster bolt.
2. Lower the transverse spring back onto the lower control arm and remove J 42743.
3. Measure the Z trim height again.

Important: Do not exceed the maximum difference between the right and left spring adjuster bolt gaps.





4. Measure and adjust the front spring adjuster bolt gaps (1) to 2 - 24 mm (0.078 - 0.944 inch).

D Height Measurement
The D height dimension measurement determines the proper rear end ride height.
1. With the vehicle on a flat surface, lift upward on the rear bumper 38 mm (1.5 inch).
2. Gently remove your hands. Allow the vehicle to settle into position.
3. Repeat the jouncing operation 2 more times for a total of 3 times.





4. Use the J 42854 in order to measure the distance between the lowest point of the ball joint (2) and the center of the front side of the lower control arm mounting bolt (1).
5. Manually push the rear of the vehicle down approximately 38 mm (1.5 inch), gently remove hands and let the vehicle settle.
6. Repeat the above step 2 more times for a total of 3 times.
7. Measure both the right and left sides of the vehicle.
8. The true D trim height is the average of the high and low measurements.

D Height Adjustment

Important: One complete turn of the adjustment bolt is equal to 2 mm (5/64 inch).





1. Remove the retainers (1) on the top of the spring bolts (2).
2. Adjust the D trim height by turning the spring bolt.
3. Measure the D trim height again.

Important: Do not exceed the maximum difference between the right and left rear spring stud heights.





4. Measure the rear spring stud heights (1), the maximum difference should be 5 mm (0.196 inch).
5. Install the retainers to the bolts.
6. Lower the vehicle.