Operation CHARM: Car repair manuals for everyone.
Manuals through 2025 now available!

Our trusted friends have launched a new website named LEMON, which has newer manuals. It also contains all the CHARM manuals.

LEMON is the spiritual successor to CHARM, I recommend you try it!

Link: lemon-manuals.la or lemon-manuals.org.ua

(Some people have issue connecting. LEMON is investigating. For now, use Firefox or change your DNS server)

Or, hide this message: temporarily or permanently

Transmission Mount Replacement

Transmission Mount Replacement

^ Tools Required
- J 42055 Transmission Support Fixture

Removal Procedure

Caution: Refer to Battery Disconnect Caution in Service Precautions.





1. Disconnect the negative battery cable.
2. Raise and suitably support the vehicle. Refer to Vehicle Lifting.
3. Remove the rear tire and wheel assemblies.
4. Remove the rear leaf spring.
5. Remove the transaxle mount to rear crossmember nuts.





6. Assemble the J 42055.
7. Install the J 42055 to a transmission jack.
8. Position and firmly secure the J 42055 with the transmission jack to the transmission.
9. Position a transmission jack under the rear suspension crossmember and firmly secure the crossmember to the jack.
10. Using ONLY HAND TOOLS, remove the rear suspension crossmember retaining nuts.
11. Carefully lower the rear crossmember approximately 37 mm (1.5 inch).





12. Remove the transaxle mount bracket to differential bolts.
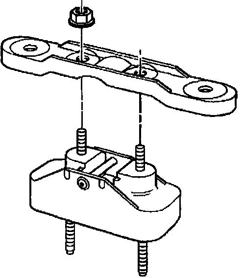
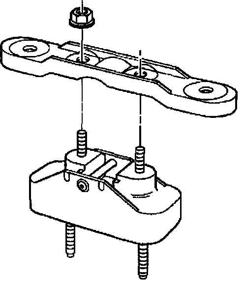
13. Remove the transaxle mount with bracket.





14. Remove the transaxle mount to bracket nuts.

Installation Procedure





1. Install the transaxle mount to the transaxle mount bracket.

Notice: Refer to Fastener Notice in Service Precautions.

2. Install the transaxle mount to bracket nuts.
^ Tighten the transaxle mount to bracket nuts to 59 Nm (43 ft. lbs.).





3. Install the transaxle mount with bracket to the differential.
4. Install the transaxle mount bracket to differential bolts.
^ Tighten the transaxle mount bracket to differential bolts to 50 Nm (37 ft. lbs.).





5. SLOWLY raise the rear suspension crossmember (still firmly attached to a transmission jack), to the vehicle frame rails.
Guide the transaxle mount studs into the slots in the rear crossmember.
6. Using ONLY HAND TOOLS, install NEW rear suspension crossmember mounting nuts.
^ Tighten the rear suspension crossmember mounting nuts to 110 Nm (81 ft. lbs.).





7. Remove the transmission jack from the rear suspension crossmember.
8. Release the J 42055 from the transmission, then remove the J 42055 and transmission jack.
9. Install the transaxle mount to rear suspension crossmember nuts.
^ Tighten the transaxle mount to rear suspension crossmember nuts to 50 Nm (37 ft. lbs.).
10. Install the rear leaf spring.
11. Install the rear tire and wheel assemblies.
12. Lower the vehicle.
13. Connect the negative battery cable.
^ Tighten the negative battery cable bolt to 15 Nm (11 ft. lbs.).
14. Program the transmitters.