Operation CHARM: Car repair manuals for everyone.
Manuals through 2025 now available!

Our trusted friends have launched a new website named LEMON, which has newer manuals. It also contains all the CHARM manuals.

LEMON is the spiritual successor to CHARM, I recommend you try it!

Link: lemon-manuals.la or lemon-manuals.org.ua

(Some people have issue connecting. LEMON is investigating. For now, use Firefox or change your DNS server)

Or, hide this message: temporarily or permanently

Connecting Rod: Service and Repair

Piston, Connecting Rod, and Bearing Replacement

- Tools Required
- J 8037 Ring Compressor

Removal Procedure





1. Remove the cylinder head from the cylinder block.
2. Remove the oil pan and the oil pump strainer from the cylinder block.
3. Using a ridge reamer, remove any ridge and all carbon from the top of the cylinder bore to avoid damage to the piston ring lands.
4. Mark the cylinder number on each of the following:
- The pistons
- The connecting rods
- The connecting rod bearing caps
5. Remove the TWC nuts and the connecting rod bearing cap.
6. Slide a piece of hose over the connecting rod studs to prevent damage to the crankshaft and cylinder wall when the piston and the connecting rod are removed.





7. Remove the piston (1) and the connecting rod (3) from the cylinder bore by pushing out through the top of the cylinder bore.
8. Disassemble the piston and connecting rod assembly.
9. Inspect the piston and connecting rod assembly.
10. Select the connecting rod bearing.
11. Select the piston.
12. Assemble the piston and connecting rod assembly.

Installation Procedure





1. Apply a light coat of clean engine oil to the following:
- The pistons
- The rings
- The cylinder walls
- The connecting rod bearings
- The crank pins
2. Install a piece of hose over the connecting rod studs to prevent damage to the crankshaft and cylinder wall when installing the connecting rods.

Important: Ensure that the arrow mark on the top of the piston is facing toward the crankshaft pulley side.

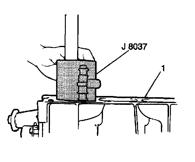
3. Use a J 8037 in order to compress the piston rings and install the piston and the connecting rod into the cylinder bore.





4. Use a hammer handle in order to tap the piston head and install the piston into the Cylinder. Keep the J 8037 pressed securely against the top of the cylinder block (1) until all of the piston rings have entered the cylinder bore;
5. Remove the hose pieces from the connecting rod bolts.

Notice: Refer to Fastener Notice in Service Precautions.

6. Install the connecting rod bearing cap to the connecting rod. Secure the connecting rod bearing cap with TWC nuts.
- Tighten the connecting rod bearing cap nuts to 35 Nm (26 ft. lbs.).
7. Install the engine oil pan.
8. Install the cylinder head to the cylinder block.