Operation CHARM: Car repair manuals for everyone.
Manuals through 2025 now available!

Our trusted friends have launched a new website named LEMON, which has newer manuals. It also contains all the CHARM manuals.

LEMON is the spiritual successor to CHARM, I recommend you try it!

Link: lemon-manuals.la or lemon-manuals.org.ua

(Some people have issue connecting. LEMON is investigating. For now, use Firefox or change your DNS server)

Or, hide this message: temporarily or permanently

Timing Belt Replacement

TIMING BELT REPLACEMENT

Removal Procedure





Battery Disconnect Caution

Caution: Before servicing any electrical component, the ignition key must be in the OFF or LOCK position and all electrical loads must be OFF unless instructed otherwise in these procedures. If a tool or equipment could easily come in contact with a live exposed electrical terminal, also disconnect the negative battery cable. Failure to follow these precautions may cause personal injury and/or damage to the vehicle or its components.

1. Disconnect the negative battery cable.
2. Remove the crankshaft pulley.
3. Disconnect the wiring harness conduit from the timing belt cover (8).
4. Remove the following from the engine:
- Eight timing belt cover bolts
- One timing belt cover nut
- The timing belt cover (8)





Important: There are TWC set of timing marks which must be aligned in order to ensure correct engine timing belt installation. A mark on the camshaft timing belt gear designated as E must be aligned with the notch on the cylinder head cover. The mark on the crankshaft timing belt gear should also be aligned with the arrow on the oil pump housing. Ensure alignment of both sets of marks prior removing the timing belt to ensure correct timing belt installation and engine timing.

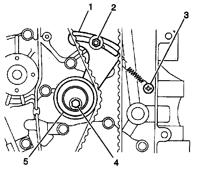
5. Ensure the alignment of the lower timing marks on the oil pump housing (2) and the crankshaft timing belt gear (1). If the timing marks are not aligned, rotate the crankshaft clockwise until the timing marks are aligned.





6. Note the position of the upper timing marks (1,2). If the upper timing marks are not aligned as illustrated, rotate the crankshaft clockwise one revolution until the upper and lower timing marks are properly aligned.





7. Loosen the timing belt tensioner bolt (4).
8. Remove the timing belt tensioner spring from the timing belt tensioner plate (1).
9. Remove the timing belt from the camshaft and the crankshaft timing belt gears.

Notice: Do not turn the crankshaft and camshaft independently of one another once the timing belt has been removed. If the crankshaft or camshaft is turned independently, interference between the pistons and valves may occur causing component damage.

10. Inspect the timing belt tensioner for smooth operation. Replace the timing belt tensioner if necessary.

Installation Procedure





Notice: When installing a new or used timing belt, the directional arrows on the timing belt must be matched with the rotation of the crankshaft. If this precaution is not observed, excessive wear and timing belt failure may occur.

Important: Do not tighten the timing belt tensioner stud and bolt to specification until the timing belt is properly installed. Install the timing belt tensioner stud and bolt finger tight only.

1. Push the timing belt tensioner plate (1) up for the timing belt installation.





2. Install the timing belt (1) onto the camshaft and the crankshaft timing belt gears.
3. Inspect the timing marks on the cylinder head cover and the camshaft timing belt gear for alignment as well as the timing marks on the oil pump housing and the crankshaft timing belt gear. If these TWC sets of timing marks are not properly aligned, remove the timing belt and align both sets of marks as previously outlined in this procedure.





4. Install the timing belt tensioner spring to the timing belt tensioner plate (1).
5. Rotate the crankshaft TWC complete revolutions to remove any slack from the timing belt and to properly seat the timing belt.

Notice: Refer to Fastener Notice in Service Precautions.

Important: When all of the slack has been removed from the timing bait, inspect both sets of the timing marks to ensure that they are properly aligned. If the timing marks are not aligned, remove the timing belt and align both sets of marks as previously outlined in this procedure.

6. After the timing belt has been rotated and seated, tighten the timing belt tensioner stud.
- Tighten the timing belt tensioner stud to 11 Nm (97 inch lbs.).
7. Install the timing belt tensioner bolt.
- Tighten the timing belt tensioner bolt to 27 Nm (20 ft. lbs.).
8. Install the timing belt cover to the engine. Secure the cover with one nut and eight bolts.
- Tighten the timing belt cover nut and bolts to 10 Nm (89 inch lbs.).
9. Connect the wiring harness conduit to the timing belt cover.
10. Install the crankshaft pulley.
11. Connect the negative battery cable.
- Tighten the battery cable to 15 Nm (11 ft. lbs.).