Operation CHARM: Car repair manuals for everyone.
Manuals through 2025 now available!

Our trusted friends have launched a new website named LEMON, which has newer manuals. It also contains all the CHARM manuals.

LEMON is the spiritual successor to CHARM, I recommend you try it!

Link: lemon-manuals.la or lemon-manuals.org.ua

(Some people have issue connecting. LEMON is investigating. For now, use Firefox or change your DNS server)

Or, hide this message: temporarily or permanently

Fluid - A/T: Service and Repair

Automatic Transmission Fluid/Filter Replacement
Removal Procedure
1. Remove the fluid level indicator.
2. Raise the vehicle. Support the vehicle.
3. Remove the front propeller shaft.





4. Remove the 4 nuts and the 4 bolts from the front differential pinion flange (four-wheel drive models).
5. Separate the pinion flange yoke from the front differential pinion flange (four-wheel drive models).
6. Position and support the transfer case to the front differential propeller shaft away from the transmission fluid pan.
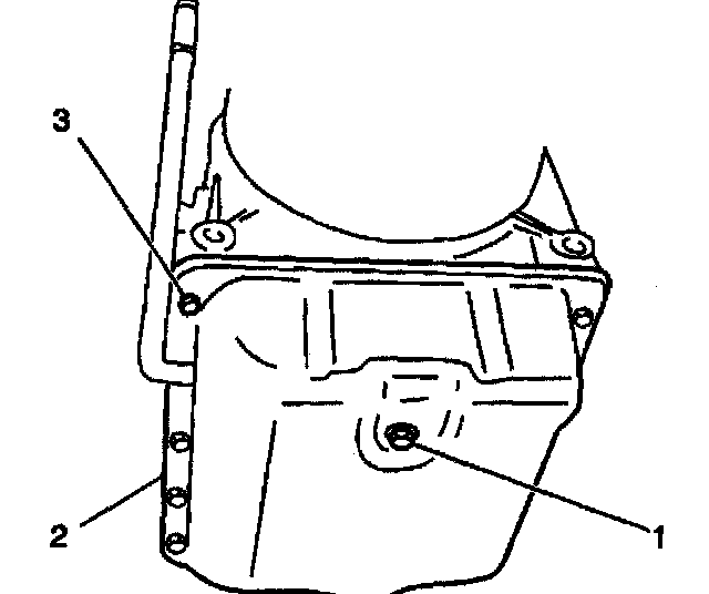
7. Place a drain pan or suitable container under the transmission drain plug (1).
8. Remove the drain plug in order to allow the transmission fluid pan (2) to drain.
9. Remove the 14 transmission fluid pan bolts (3) from the transmission fluid pan.
10. Remove the transmission fluid pan and the gasket from the transmission.
11. Remove the solenoid harness.





12. Remove the following items from the valve body:
^ The 6 bolts (1)
^ The fluid filter screen (2)
^ The fluid filter gasket
^ The fluid filter spacer
^ The fluid filter spacer gasket

Important: A small amount of clutch material in the bottom of the transmission fluid pan is a normal condition and is consistent with normal transmission wear. The bottom of the fluid pan is equipped with a magnet that will collect minute metal filings. However, if large amounts of clutch material, metal shavings or other foreign matter are present, transmission disassembly and inspection is indicated.

13. Clean the fluid filter screen with solvent and air dry.
14. Clean the transmission fluid pan with solvent and air dry.
15. Clean the fluid pan magnets with solvent and air dry.
16. Clean the transmission fluid pan.
17. Clean the fluid filter screen gasket mating surfaces.
18. Inspect the fluid filter screen for tears or other damage.
19. Replace as necessary.

Installation Procedure





1. Install a new fluid filter screen gasket and fluid filter screen (2) to the valve body.

Notice: Refer to Fastener Notice in Service Precautions.

2. Secure the fluid filter screen (2) to the valve body with the 6 bolts (1).
Tighten the fluid filter screen bolts to 5 Nm (44 inch lbs.).
3. Install the solenoid harness.

Important: Ensure the filler tube is properly connected when installing the transmission pan.

4. Install the new transmission fluid pan gasket and the transmission fluid pan to the transmission.
5. Secure the transmission fluid pan with the fourteen bolts.
Tighten the transmission fluid pan bolts to 5 Nm (44 inch lbs.).





6. Install the transmission drain plug (1) into the transmission.
Tighten the transmission drain plug to 17 Nm (13 ft. lbs.).
7. Install the propeller shaft into the vehicle.
8. Lower the vehicle.





9. Refill the transmission as necessary using the following steps:
9.1. Place the vehicle on a level surface.
9.2. Add approximately 2.5 liters (2.6 quarts) of Dexron-III automatic transmission fluid GM P/N 12346143 (Canadian P/N 10952622), or the equivalent, into the fluid
9.3. Install the fluid level indicator into the fluid filler tube.
9.4. Apply the parking brake and block the vehicle wheels.

Important: DO NOT race the engine.

9.5. With the selector lever in the PARK position, start the engine.
9.6. Run the engine at idle speed.
9.7. Move the selector lever through each range and return the selector lever to the PARK position.
9.8. While the engine is running at idle remove the fluid level indicator from the filler tube and wipe the indicator off.
9.9. Reinsert the fluid level indicator into the filler tube making sure it is seated in its original position.
9.10. Remove the indicator and check the fluid level. The level should be between the FULL HOT (2) and the LOW HOT (3) marks. If the level is below the LOW HOT mark, add fluid to bring the level to the FULL HOT mark. Bringing the fluid level from the LOW HOT mark to the FULL HOT mark requires 0.3 liters (0.3 quarts) of fluid. Use Dexron-III automatic transmission fluid GM P/N 12346143 (Canadian P/N 10952622), or the equivalent.
9.11. Conduct a road test and check the transmission level.