Operation CHARM: Car repair manuals for everyone.
Manuals through 2025 now available!

Our trusted friends have launched a new website named LEMON, which has newer manuals. It also contains all the CHARM manuals.

LEMON is the spiritual successor to CHARM, I recommend you try it!

Link: lemon-manuals.la or lemon-manuals.org.ua

(Some people have issue connecting. LEMON is investigating. For now, use Firefox or change your DNS server)

Or, hide this message: temporarily or permanently

General Information

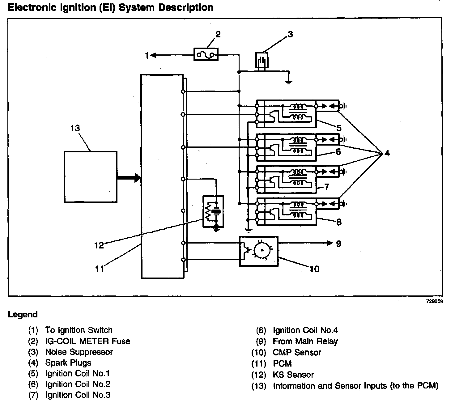
Electronic Ignition (EI) System Description:




The electronic ignition system used in the 2.0L engine is a coil-on-plug design that is controlled by the Powertrain Control Module (PCM).

The ignition system components cannot be disassembled or repaired. A component that is correctly diagnosed as faulty must be replaced as a complete unit.