Operation CHARM: Car repair manuals for everyone.
Manuals through 2025 now available!

Our trusted friends have launched a new website named LEMON, which has newer manuals. It also contains all the CHARM manuals.

LEMON is the spiritual successor to CHARM, I recommend you try it!

Link: lemon-manuals.la or lemon-manuals.org.ua

(Some people have issue connecting. LEMON is investigating. For now, use Firefox or change your DNS server)

Or, hide this message: temporarily or permanently

Wiper Gear Box: Service and Repair

WIPER TRANSMISSION REPLACEMENT

REMOVAL PROCEDURE




1. Remove the windshield wiper arms.
2. Remove the air inlet screen.
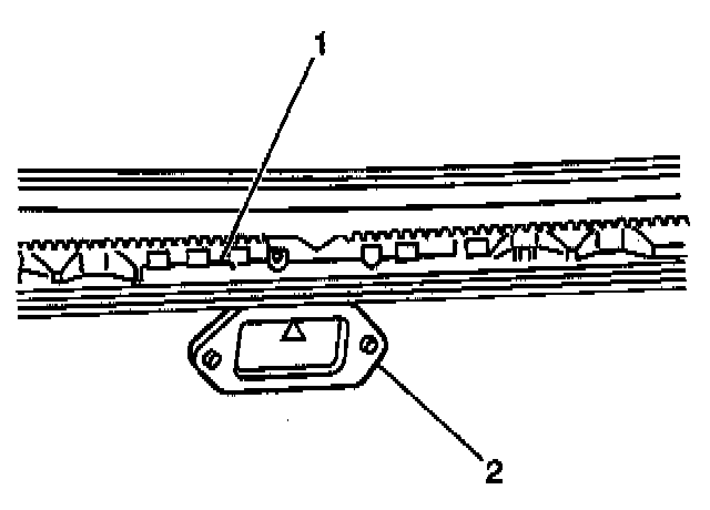
3. Remove the 2 bolts and the bulkhead center cover (2), exposing the windshield wiper motor linkage.




4. Remove the 5 retaining nuts (1) that retain the windshield wiper motor linkage (3) to the bulkhead (2).




5. Remove the windshield wiper motor.
8. Release the windshield wiper motor linkage retaining tabs (2).
7. Remove the windshield wiper motor linkage (1) be sliding the linkage through the windshield wiper motor opening.

INSTALLATION PROCEDURE




1. Install the windshield wiper motor linkage (1) by sliding the linkage through the windshield wiper motor opening. Ensure that the retaining tabs (2) are completely engaged.

NOTE: Refer to Fastener Notice in Service Precautions.




2. Install the 5 retaining nuts (1) that retain the windshield wiper motor linkage (3) to the bulkhead (2).

Tighten
Tighten the windshield wiper motor linkage retaining nuts to 15 N.m (11 lb ft).




3. Install the windshield wiper motor.

IMPORTANT: Ensure that the ground wire is retained by the right bulkhead center cover bolt.

4. Install the bulkhead center cover (2). Secure the bulkhead center cover with the 2 bolts.

Tighten
Tighten the bulkhead center cover retaining bolts to 15 N.m (11 lb ft).

5. Install the air inlet screen.
6. Install the windshield wiper arms.