Operation CHARM: Car repair manuals for everyone.
Manuals through 2025 now available!

Our trusted friends have launched a new website named LEMON, which has newer manuals. It also contains all the CHARM manuals.

LEMON is the spiritual successor to CHARM, I recommend you try it!

Link: lemon-manuals.la or lemon-manuals.org.ua

(Some people have issue connecting. LEMON is investigating. For now, use Firefox or change your DNS server)

Or, hide this message: temporarily or permanently

Primary Timing Chain Replacement

Primary Timing Chain Replacement

Removal Procedure





Caution: Refer to Battery Disconnect Caution in Service Precautions.

1. Disconnect the negative battery cable.
2. Remove the engine front cover.
3. Remove the spark plugs.

Notice: Avoid turning the camshafts and the crankshaft once the timing chain or timing chain tensioner is removed. Valve and piston damage may occur.

Important: The timing marks must be correctly aligned before disassembly, in order to correctly install the timing chains.

4. Rotate the crankshaft so that timing marks are aligned as shown in figure.
5. Remove the left secondary timing chain.





6. Remove the timing chain guides (3) and (4).
7. Remove the timing chain tensioner adjuster (8).
8. Remove the idler sprocket (11) and the primary timing chain (2).
9. Remove the idler sprocket (7) and the sprocket shaft.
10. Remove the timing chain tensioner (9).





11. Remove the right primary timing chain camshaft sprocket bolt while holding the right intake camshaft (2) with a wrench.
12. Remove the right primary sprocket (1) from the intake camshaft.
13. Remove the primary timing chain crankshaft sprocket.
14. Inspect the following components for wear and damage:
- The primary timing chain guides
- The primary timing chain tensioner
- The primary timing chain sprockets
- The primary timing chain





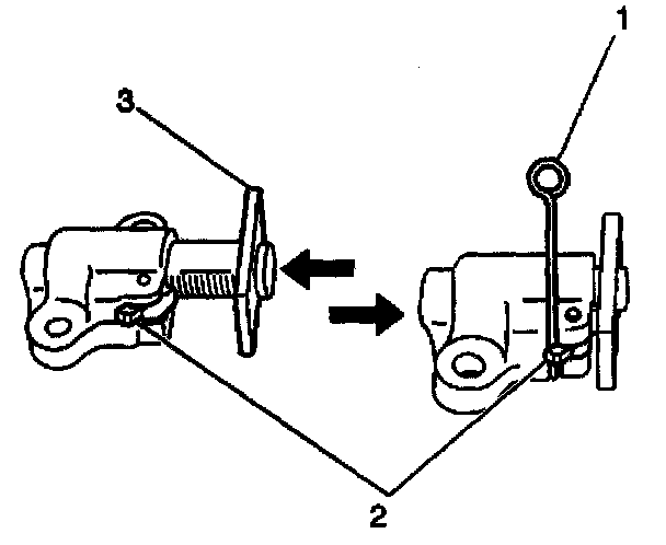
15. Verify that the latch (1) and teeth (2) of the timing chain tensioner adjuster are undamaged and that the tensioner functions correctly.
16. Replace any worn or damaged component.

Installation Procedure





1. Verify that the key say (2) on the crankshaft is positioned properly.





2. Install the crankshaft sprocket (2) to the crankshaft (1).





3. Verify that the Knock-pin (1) on the right intake camshaft is aligned with the match mark (2).





4. Install the right primary sprocket to the intake camshaft with the RH mark facing forward.

Notice: Refer to Fastener Notice in Service Precautions.

5. Secure the sprocket (1) with the bolt while holding the intake camshaft (2) with a wrench.
- Tighten the bolt to 80 Nm (57.5 ft. lbs.).





6. Install the timing chain tensioner (2). Secure with the nut.
- Tighten the nut to 27 Nm (19.5 ft. lbs.).





7. Install the primary timing chain to the primary right intake sprocket by aligning the right silver link (1) on the chain with the mark (2) on the sprocket.





8. Apply oil to the inside of the idler sprocket and install the sprocket by aligning the left silver link (1) with the mark (2) on the idler sprocket.





9. Install the primary timing chain to the crankshaft sprocket by aligning the yellow link (2) on the chain with the mark (3) on the sprocket.





10. Apply oil to the bearing of the idler sprocket.
11. Install the primary timing chain to the idler sprocket (1) and secure the sprocket to the engine block with the bolt.
- Tighten the bolt to 45 Nm (32.5 ft. lbs.).





12. With the latch (2) of the tensioner adjuster returned and the plunger (3) pushed back into the body, insert a retainer (paper clip or similar tool) (1) into the set hole. After inserting the pin, make sure the plunger will not come out.





13. Install the tensioner adjuster (1) to the engine block and tensioner. Secure with the 2 bolts.
- Tighten the bolt to 11 Nm (7.5 ft. lbs.).
14. Remove the retainer (3) from the tensioner.





15. Install the timing chain guides (1,3).
- Tighten the bolts to 9 Nm (6.5 ft. lbs.).





16. Verify that each timing mark is aligned properly.
17. Install the left secondary timing chain and tensioner.
18. Install the engine front cover.
19. Install the spark plugs.
20. Connect the negative battery cable.