Operation CHARM: Car repair manuals for everyone.
Manuals through 2025 now available!

Our trusted friends have launched a new website named LEMON, which has newer manuals. It also contains all the CHARM manuals.

LEMON is the spiritual successor to CHARM, I recommend you try it!

Link: lemon-manuals.la or lemon-manuals.org.ua

(Some people have issue connecting. LEMON is investigating. For now, use Firefox or change your DNS server)

Or, hide this message: temporarily or permanently

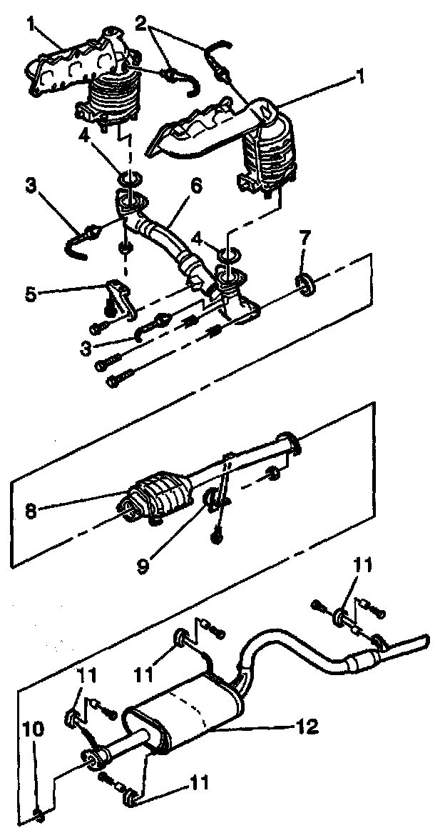
Catalytic Converter: Service and Repair

Catalytic Converter Replacement (2.5L Engine)

Removal Procedure





1. Raise and support the vehicle. Refer to Vehicle Lifting.
2. Remove the 2 bolts from the front pipe assembly and separate the front pipe from the catalytic converter assembly (8).





3. Remove the 2 nuts from the catalytic converter assembly (8) and separate from the muffler/tail pipe assembly (12).
4. Remove the hanger supporting the catalytic converter assembly.
5. Remove the catalytic converter assembly from the vehicle.
6. Clean the gasket and the seal mating surfaces.

Installation Procedure





Important: When installing a new exhaust system component, always use new gaskets and seals.

1. Install the catalytic converter assembly (8) to the vehicle.
2. Support the catalytic converter assembly with a hanger.
3. Attach the catalytic converter assembly with a new gasket to the muffler/tail pipe assembly (12).
4. Secure the muffler/tail pipe assembly with 2 nuts. Do not fully tighten the nuts.
5. Use a new seal, and connect the front pipe to the catalytic converter assembly and secure with 2 bolts. Do not fully tighten the bolts.

Notice: Refer to Fastener Notice in Service Precautions.

6. Align all system components before tightening the fasteners, in order to prevent noise or vibrations.
- Tighten the front pipe to catalytic converter assembly bolts to 50 Nm (37 ft. lbs.).
- Tighten the catalytic converter to resonator/muffler/tail pipe assembly nuts to 60 Nm (44 ft. lbs.).
7. Lower the vehicle.