Lock Lever Replacement - Remote
LOCK LEVER REPLACEMENT - REMOTETOOLS REQUIRED
M 39010 Heavy Duty Rivet Gun
REMOVAL PROCEDURE
1. Remove the trim panel.
2. Use a sharp bladed tool in order to separate the water deflector at the perforations. Refer to Water Deflector Replacement - Front Door.
3. Remove the lock rods from the remote lock lever.
4. Use a 5 mm (3/16 in) drill bit in order to drill out the head of the door rivets and remove the remote lock lever to door rivets.
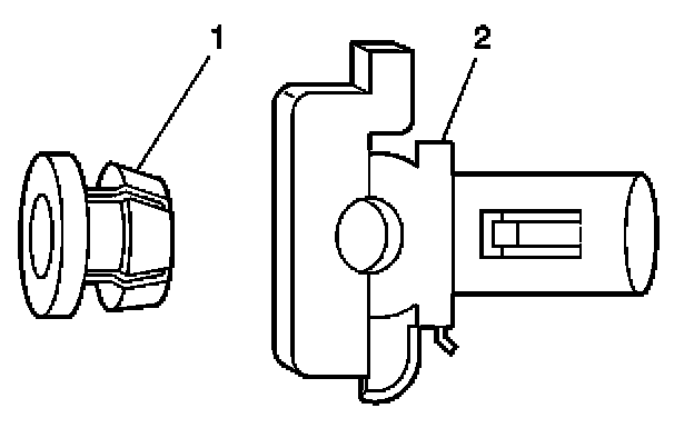
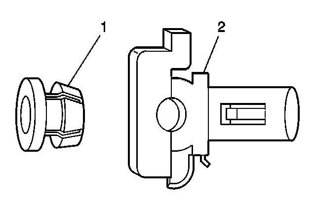
5. Remove the lock lever from the clip (2).
6. Remove the lock lever from the door.
INSTALLATION PROCEDURE
1. Install the lock rod lever to the door.
2. Install the remote lock lever to the clip (2).
IMPORTANT: Install new plastic retainer clips whenever the lock rods are removed.
3. Use the M 39010 in order to install door rivets.
4. Install the lock rods to the remote lock lever.
5. Install the water deflector and the armrest bracket.
6. Install the trim panel.