Operation CHARM: Car repair manuals for everyone.
Manuals through 2025 now available!

Our trusted friends have launched a new website named LEMON, which has newer manuals. It also contains all the CHARM manuals.

LEMON is the spiritual successor to CHARM, I recommend you try it!

Link: lemon-manuals.la or lemon-manuals.org.ua

(Some people have issue connecting. LEMON is investigating. For now, use Firefox or change your DNS server)

Or, hide this message: temporarily or permanently

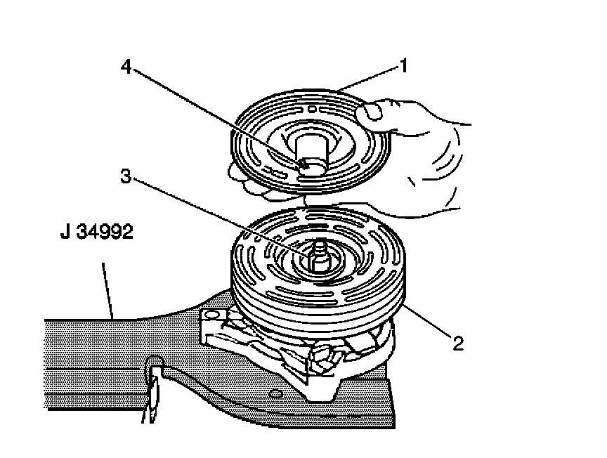
Compressor Clutch Plate/Hub Assembly Installation

COMPRESSOR CLUTCH PLATE/HUB ASSEMBLY INSTALL

TOOLS REQUIRED
J 33013-B Hub and Drive Plate Remover/Installer




1. Install the shaft key (4) into the hub key groove.Allow the key to project approximately 3.2 mm (0.125 in) out of the keyway (3). The shaft key curves slightly in order to provide an interference fit in the hub key groove.
2. Clean the following components:
- The clutch plate
- The clutch rotor (2)
3. Align the shaft key (4) with the shaft keyway (3).
4. Place the clutch plate and the hub assembly (1) onto the compressor shaft.




5. Remove the forcing tip on the J 33013-B.
6. Reverse the body direction on the center screw.
7. Install the J 33013-B with the bearing.
8. Back off the body of the J 33013-B as necessary in order to permit the center screw to be threaded onto the end of the compressor shaft.
9. Hold the center screw with a wrench.
10. Tighten the hex portion of the J 33013-B body in order to press the hub onto the shaft.
11. Tighten the body several turns.
12. Remove the installer. Ensure that the shaft key remains in place in the keyway.
13. Install the clutch plate and hub assembly to the final position.Ensure that the air gap (2) between frictional surfaces of the clutch plate and clutch rotor measures within 0.50-0.76 mm (0.20-0.30 in).
14. Remove the J 33013-B.
15. Verify proper positioning of the shaft key.Ensure that the shaft key is even with or slightly above the clutch hub.
16. Spin the pulley rotor by hand in order to verify that the rotor does not rub against the clutch drive plate.