Operation CHARM: Car repair manuals for everyone.
Manuals through 2025 now available!

Our trusted friends have launched a new website named LEMON, which has newer manuals. It also contains all the CHARM manuals.

LEMON is the spiritual successor to CHARM, I recommend you try it!

Link: lemon-manuals.la or lemon-manuals.org.ua

(Some people have issue connecting. LEMON is investigating. For now, use Firefox or change your DNS server)

Or, hide this message: temporarily or permanently

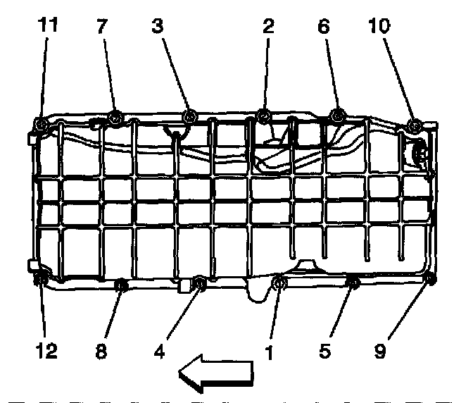
Oil Pan, Engine








Oil Pan Bolt
First Pass 10 Nm (89 inch lbs.)
Final Pass 25 Nm (18 ft. lbs.)

Oil Pan Drain Plug 28 Nm (21 ft. lbs.)

Oil Pan Skid Plate Bolt 20 Nm (15 ft. lbs.)