Operation CHARM: Car repair manuals for everyone.
Manuals through 2025 now available!

Our trusted friends have launched a new website named LEMON, which has newer manuals. It also contains all the CHARM manuals.

LEMON is the spiritual successor to CHARM, I recommend you try it!

Link: lemon-manuals.la or lemon-manuals.org.ua

(Some people have issue connecting. LEMON is investigating. For now, use Firefox or change your DNS server)

Or, hide this message: temporarily or permanently

Heater Core: Service and Repair



HEATER CORE REPLACEMENT







REMOVAL PROCEDURE
1. Remove the HVAC module. Service and Repair
2. Remove the heater core outlet cover screws.
3. Remove the heater core outlet cover.







4. Remove the heater core cover screws.
5. Remove the heater core cover.







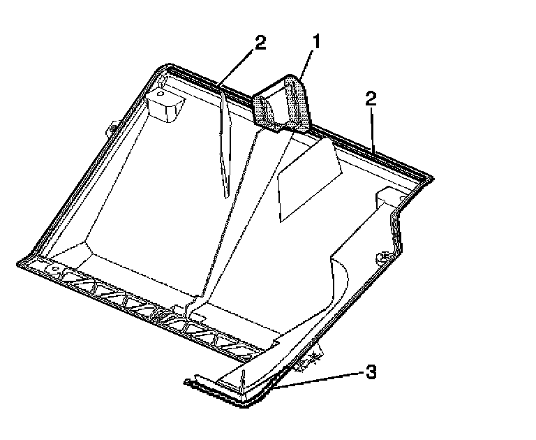
6. Remove and discard the seals (1,2,3) from the heater core cover.







7. Remove and discard the heater core outer seal (5) from the heater core.







8. Remove the heater core retaining clamp screw (1).
9. Remove the heater core retaining clamp.
10. Remove the heater core pipe retainer clamp screw (2).







11. Remove the heater core from the HVAC module case - lower.







12. Remove and discard the heater core lower seal (4) from the HVAC module case - lower.







13. Remove and discard the heater core center seal (3) from the HVAC module case - lower.







14. Remove and discard the heater core upper seal (2) from the HVAC module case - lower.







15. Remove and discard the heater core side seals (1) from the HVAC module case - lower.







16. Remove the heater core pipe retainer clamp from the heater core pipes.
Using a flat bladed tool, release the retaining tab and open the clamp.








INSTALLATION PROCEDURE
1. Install the heater core pipe retainer clamp to the heater core pipes.
Align the depression in the clamp to the ridge on one of the heater core pipes, then close the clamp to secure.







2. Install new heater core side seals (1) to the HVAC module case - lower.







3. Install a new heater core upper seal (2) to the HVAC module case - lower.







4. Install a new heater core center seal (3) to the HVAC module case - lower.







5. Install a new heater core lower seal (4) to the HVAC module case - lower.







6. Install the heater core to the HVAC module case - lower.







7. Install the heater core pipe retainer clamp screw (2).

NOTE: Refer to Fastener Notice in Service Precautions. Vehicle Damage Warnings

Tighten
Tighten the screw to 1.6 N.m (14 lb in).

8. Install the heater core retaining clamp.
9. Install the heater core retaining clamp screw (1).

Tighten
Tighten the screw to 1.6 N.m (14 lb in).







10. Install a new heater core outer seal (5) to the heater core.







11. Install new cavity seals (1,2,3) to the heater core cover.







12. Install the heater core cover.
13. Install the heater core cover screws.

Tighten
Tighten the screws to............1.6 N.m (14 lb in).







14. Install the heater core outlet cover.
15. Install the heater core outlet cover screws.

Tighten
Tighten the screws to............1.6 N.m (14 lb in).

16. Install the HVAC module.