Operation CHARM: Car repair manuals for everyone.
Manuals through 2025 now available!

Our trusted friends have launched a new website named LEMON, which has newer manuals. It also contains all the CHARM manuals.

LEMON is the spiritual successor to CHARM, I recommend you try it!

Link: lemon-manuals.la or lemon-manuals.org.ua

(Some people have issue connecting. LEMON is investigating. For now, use Firefox or change your DNS server)

Or, hide this message: temporarily or permanently

Accumulator HVAC: Service and Repair

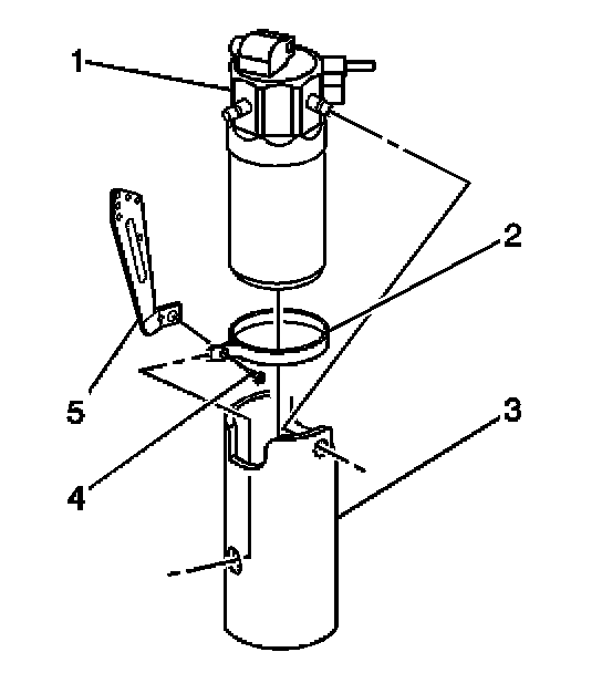
ACCUMULATOR REPLACEMENT

TOOLS REQUIRED
J 39400-A Halogen Leak Detector

REMOVAL PROCEDURE
1. Recover the refrigerant from the A/C system. Refer to Refrigerant Recovery and Recharging.




2. Disconnect the electrical connector (2) from A/C low pressure sensor (1).
3. Remove the evaporator outlet hose retaining nut (3) from the accumulator.




4. Remove the compressor inlet hose retaining nut (1).




5. Remove the retaining screw (4) from the accumulator retaining bracket (2).
6. Remove the accumulator (1).
7. Remove the sealing washers.

INSTALLATION PROCEDURE
1. If replacing the accumulator add the specified amount of PAG oil directly into the accumulator. Refer to Refrigerant System Capacities.




2. Install the accumulator (1).
3. Install the screw (4) to the accumulator retaining bracket (2).

NOTE: Refer to Fastener Notice in Service Precautions.

Tighten
Tighten the screw to 9 N.m (80 lb in).




4. Connect the low pressure sensor electrical connector (1).




5. Install new sealing washers.
6. Install the evaporator outlet hose.
7. Install the evaporator outlet hose retaining nut (1) to the accumulator.

Tighten
Tighten the nut to 16 N.m (12 lb ft).

8. Install the compressor inlet hose.
9. Install the compressor inlet hose retaining nut (2) to the accumulator.

Tighten
Tighten the nut to 16 N.m (12 lb ft).

10. Evacuate and recharge the A/C system. Refer to Refrigerant Recovery and Recharging.
11. Leak test the fittings of the component using the J 39400-A.