Operation CHARM: Car repair manuals for everyone.
Manuals through 2025 now available!

Our trusted friends have launched a new website named LEMON, which has newer manuals. It also contains all the CHARM manuals.

LEMON is the spiritual successor to CHARM, I recommend you try it!

Link: lemon-manuals.la or lemon-manuals.org.ua

(Some people have issue connecting. LEMON is investigating. For now, use Firefox or change your DNS server)

Or, hide this message: temporarily or permanently

Lock Replacement - Front Door

LOCK REPLACEMENT - FRONT DOOR

REMOVAL PROCEDURE




1. Remove the front door trim panel.
2. Remove the front door water deflector.
3. Remove the front door inside handle rods from the front door inside handle.
4. Remove the clip securing the front door inside handle rods to the front door.
5. Remove the outside handle rod-to-lock clip from the lock.




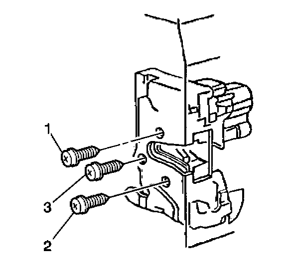
6. Remove the screws (1) securing the lock to the front door.
7. Remove the lock from the front door with the inside handle rods attached to the lock.
8. Disconnect the electrical connectors.
9. Remove the front door inside handle rods from the lock.

INSTALLATION PROCEDURE




1. Install the front door inside handle rods to the lock.
2. Install the front door lock in the position through the access hole in the front door inner panel.
3. Connect the electrical connectors.




4. Install the front door lock screws in the proper fastener tightening sequence: top (1), bottom (2), middle (3).

NOTE: Refer to Fastener Notice in Service Precautions.

Tighten
Tighten the front door lock screws to 10 N.m (89 lb in).




5. Install a NEW outside handle rod-to-lock clip onto the front door lock lever.
5.1. Position the front door outside door handle rod in the clip to eliminate any free play in the front door outside door handle.
5.2. Install the clip cover closed over the threaded front door outside door handle rod.
6. Install the clip to the front door inside handle rods.
7. Install the front door handle rods to the handle.
8. Install the front door water deflector.
9. Install the front door trim panel.
10. Inspect the door lock system for the proper operation.