Operation CHARM: Car repair manuals for everyone.
Manuals through 2025 now available!

Our trusted friends have launched a new website named LEMON, which has newer manuals. It also contains all the CHARM manuals.

LEMON is the spiritual successor to CHARM, I recommend you try it!

Link: lemon-manuals.la or lemon-manuals.org.ua

(Some people have issue connecting. LEMON is investigating. For now, use Firefox or change your DNS server)

Or, hide this message: temporarily or permanently

Rearview Mirror Support Replacement

REARVIEW MIRROR SUPPORT REPLACEMENT

TOOLS REQUIRED
- Inside Mirror Adhesive Kit GM P/N 1052369, Canada P/N 993362 or Equivalent
- Safety Razor or Utility Knife

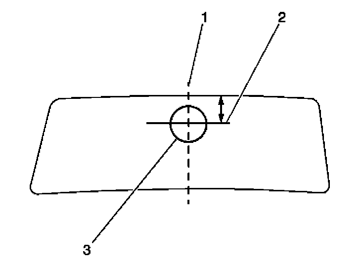
1. Determine the location of the mirror mounting base by marking the outside of the windshield with a marking pencil where the base was previously located. If it is not clear where the base was mounted, use the following steps to determine where the base should be installed:




1.1. Using a measuring tape, measure the distance between the windshield pillars from the base of the shade line.
1.2. Using a marking pencil, halfway between the windshield pillars, draw a centerline (1) on the windshield from the roof panel to the windshield base.
1.3. Draw a perpendicular line intersecting the centerline (2) at that location.
The top center of the mirror mounting base will be at the intersection of these lines.
2. Scrape the inside windshield glass thoroughly with a safety razor or utility knife in order to remove all old adhesive.
3. If reinstalling the original mounting base, place the mirror mounting base in a suitable holding device, such as a vice.
4. Scrape the mirror mounting base thoroughly with a safety razor or utility knife in order to remove all old adhesive.
5. Clean the inside windshield glass and the mounting surface of the mirror mounting base thoroughly with a clean cloth saturated with naphtha or a 50/50 mixture (by volume) of clean water and isopropyl alcohol.




6. Use Inside Mirror Adhesive Kit GM P/N 1052369, Canada P/N 993362 or equivalent to apply a small amount of activator to the mounting surface of the mirror mounting base.
7. Apply a small amount of activator to the windshield where the mounting base is to be installed.
8. Allow the activator to dry 5 minutes.
9. Apply 1 drop of adhesive to the center of the mirror mounting base.

IMPORTANT: Do not touch the mounting surface of the mirror mounting base or the glass.




10. Immediately apply the mounting base to the windshield, ensuring that the mounting base aligns correctly to the marks made on the outside of the windshield.
11. Hold the mounting base firmly in place for 1 minute.
12. Allow the adhesive to set for 15 minutes.
13. Install the mirror to the mirror mounting base and fasten, if necessary.
14. Connect the electrical connector and install the wire cover, if equipped.