Operation CHARM: Car repair manuals for everyone.
Manuals through 2025 now available!

Our trusted friends have launched a new website named LEMON, which has newer manuals. It also contains all the CHARM manuals.

LEMON is the spiritual successor to CHARM, I recommend you try it!

Link: lemon-manuals.la or lemon-manuals.org.ua

(Some people have issue connecting. LEMON is investigating. For now, use Firefox or change your DNS server)

Or, hide this message: temporarily or permanently

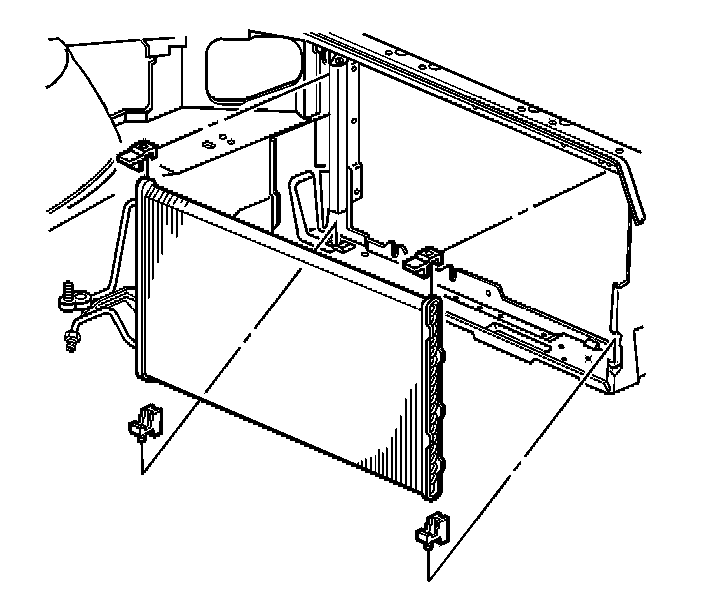
Condenser HVAC: Service and Repair

CONDENSER REPLACEMENT

TOOLS REQUIRED
J 39400-A Halogen Leak Detector

REMOVAL PROCEDURE
1. Recover the refrigerant.
2. Remove the radiator.




3. Remove the liquid line nut from the condenser and position the liquid line aside.




4. Remove the A/C compressor line nut from the condenser and position the A/C compressor line aside.




5. Tilt the top of the condenser to the rear of the vehicle and lift up to remove the condenser.
6. Ensure the lower rubber mounts stay in place in the vehicle.
7. Remove the upper rubber mounts from the condenser.

INSTALLATION PROCEDURE
1. If replacing the condenser, add refrigerant oil to the condenser.




2. Install the upper rubber mounts on to the condenser.
3. Install the lower ends of the condenser in to the lower rubber mounts.

IMPORTANT: Ensure the upper rubber mounts stay in place on the condenser.

4. Tilt the top of the condenser in to place.
5. Install new O-ring seals onto the A/C compressor hose and the condenser tube.




6. Install the liquid line to the condenser.

NOTE: Refer to Fastener Notice in Service Precautions.

Tighten the liquid line nut to the condenser.

Tighten
Tighten the nut to 27 N.m (20 lb ft).




7. Install the A/C compressor hose to the condenser.
8. Install the A/C compressor hose block fitting nut to the condenser.

Tighten
Tighten the nut to 16 N.m (12 lb ft).

9. Install the radiator.
10. Evacuate and recharge the A/C system.
11. Leak test the fittings of the component using J 39400-A.