Operation CHARM: Car repair manuals for everyone.
Manuals through 2025 now available!

Our trusted friends have launched a new website named LEMON, which has newer manuals. It also contains all the CHARM manuals.

LEMON is the spiritual successor to CHARM, I recommend you try it!

Link: lemon-manuals.la or lemon-manuals.org.ua

(Some people have issue connecting. LEMON is investigating. For now, use Firefox or change your DNS server)

Or, hide this message: temporarily or permanently

Housing Assembly HVAC: Service and Repair

HEATER/VENT MODULE REPLACEMENT







REMOVAL PROCEDURE
1. Remove the instrument panel.
2. Drain the engine coolant. Refer to Draining and Filling Cooling System in Cooling System.







3. Remove the blower motor resistor.
4. Remove the heat/vent module mounting bolt through the blower motor resistor or service access cover opening.

IMPORTANT Mark and use the same mounting bolt for the heater/vent module during the installation process. Other mounting bolts are longer and will obstruct the operation of the temperature door.







5. Remove the right wheel house panel.
6. Remove the front right tire.
7. On the Utility only, remove the A/C evaporator and blower module heat shield screws.
8. On the Utility only, slide the A/C evaporator and blower module heat shield toward the front of the vehicle.
9. Remove the 2 lower heat/vent module mounting nuts.
10. On the Utility only, remove the A/C evaporator and blower module heat shield bracket.
11. Remove the bottom right heat/vent module mounting bolt from inside the vehicle.
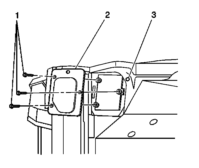
12. On the Utility only, while an assistant inside the vehicle pulls the bottom right corner of the heat/vent module approximately 2.5 mm (1 in) back, remove the 2 heat/vent module mounting studs.

IMPORTANT The heat/vent mounting stud has a flange on the inside and cannot be removed from under the hood. Stop turning the stud after the threads are off the heat/vent module.

13. Lower the vehicle.







14. On vehicles with a 2.2 L engine only, remove the engine wiring harness bracket located at the rear of the intake manifold. Refer to Valve Rocker Arm Cover Replacement in Engine Mechanical - 2.2 L.

15. Remove the HVAC module mounting bolt located at the lower left side of the heater core to heater hose connection.
16. Remove the HVAC module mounting nut located at the lower right side of the heater core to heater connection.
17. On the Utility only, loosen the HVAC module mounting studs until the threads are free from the heat/vent module.

IMPORTANT The heat/vent mounting stud has a flange on the inside and cannot be removed from under the hood. Stop turning the stud after the threads are off the heat/vent module.

18. Disconnect all of the electrical connectors from the HVAC module.
19. Disconnect all of the vacuum lines from the heater assembly.
20. Disconnect the heater hoses from the heater core.
21. Remove the HVAC module from the vehicle.







INSTALLATION PROCEDURE
1. If replacing the HVAC module, transfer the components from the old heat/vent module as necessary.
2. Install the HVAC module to the vehicle.

IMPORTANT Before installing the HVAC module to the vehicle, ensure that the HVAC module mounting studs are located in the proper positions.

3. Connect the heater hoses to the heater core.
4. Connect all of the vacuum lines to the heater assembly.
5. Connect all of the electrical connectors to the HVAC module.
6. Install the bottom right HVAC module mounting bolt from inside the vehicle approximately halfway into the threads.
7. On the Utility only, install the HVAC module mounting stud located at the lower right side of the heater core to heater hoses connection in the engine compartment.

NOTE: Refer to Fastener Notice in Service Precautions. Vehicle Damage Warnings

Tighten
Tighten the HVAC module mounting stud to ..........4.5 N.m (40 lb in).

8. Raise the vehicle.
9. On the Utility only, install the bottom right HVAC mounting studs. Ask an assistant to pull the bottom right corner of the HVAC module back from inside the vehicle.

Tighten
Tighten the heat/vent module mounting studs to .......4.5 N.m (40 lb in).

10. On the Utility only, install the A/C evaporator and blower module heat shield bracket.
11. Install the heater/vent module mounting nuts.

Tighten
Tighten the HVAC module mounting nuts to .......4.5 N.m (40 lb in).

12. On the Utility only, slide the A/C evaporator and blower module heat shield into the original position.
13. On the Utility only, install the A/C evaporator and blower module heat shield screws.

Tighten
Tighten the A/C evaporator and blower module heat shield screws ...............2.2 N.m (19 lb in).







14. Install the right front tire.
15. Install the bottom right HVAC module mounting bolt from inside the vehicle.

Tighten
Tighten the HVAC module mounting bolt to ................4.5 N.m (40 lb in).

16. Install the right wheel house panel.







17. Install the HVAC module mounting nut located at the lower right side of the heater core to heater connection.

Tighten
Tighten the HVAC module mounting nut to ..............4.5 N.m (40 lb in).

18. Install the HVAC module mounting bolt located at the lower left side of the heater core to heater hose connection.

Tighten
Tighten the HVAC module mounting bolt to.............. 4.5 N.m (40 lb in).

19. On vehicles with the 2.2 L engine only, install the engine wiring harness bracket located at the rear of the intake manifold.
20. Install the HVAC module mounting bolt through the blower motor resistor or service access cover opening.

IMPORTANT Use the same mounting bolt marked during removal for the HVAC module during the installation process. Other mounting bolts are longer and will obstruct the operation of the temperature door.

Tighten
Tighten the HVAC module mounting bolt to .........4.5 N.m (40 lb in).







21. Install the blower motor resistor.
22. Refill the engine coolant. Refer to Draining and Filling Cooling System in Cooling System.
23. Install the instrument panel.