Operation CHARM: Car repair manuals for everyone.
Manuals through 2025 now available!

Our trusted friends have launched a new website named LEMON, which has newer manuals. It also contains all the CHARM manuals.

LEMON is the spiritual successor to CHARM, I recommend you try it!

Link: lemon-manuals.la or lemon-manuals.org.ua

(Some people have issue connecting. LEMON is investigating. For now, use Firefox or change your DNS server)

Or, hide this message: temporarily or permanently

Front Wheel Alignment


Front Caster and Camber Adjustment

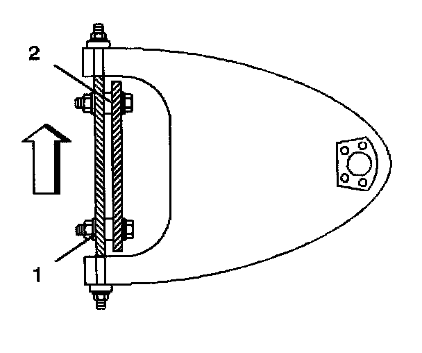
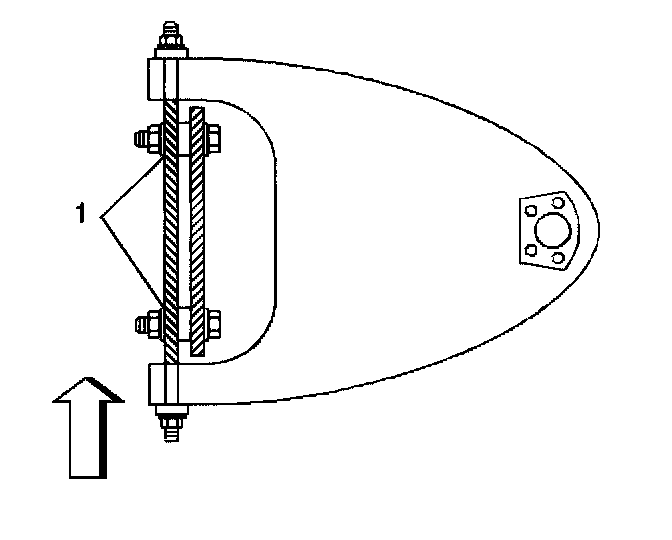
Important: Before you adjust caster and camber angles, raise and release the front bumper. Do this twice in order to allow the vehicle to return to a normal height.

1. Adjust the caster and the camber by inserting shims between the upper control arm shaft and the frame bracket. Add shims or subtract shims or transfer shims in order to change the readings.





2. In order to adjust the caster and the camber, loosen the upper control arm shaft-to-frame nuts (1). Add shims or remove shims (2) as required. Tighten the nuts. Check the toe after you change the caster and the camber.
3. Caster-Transfer the shims from front to rear or from rear to front. The transfer of one shim from the rear bolt to the front bolt decreases positive caster.
4. Camber-Change the shims at the front and the rear of the cross shaft. Add an equal number of shims at the front and the rear of the cross shaft. This decreases positive camber.





5. A normal shim pack will leave at least two threads of the bolt exposed beyond the nut (1). The difference between the front shim pack and the rear shim pack must not exceed 10 mm (0.40 inch). If you cannot meet these requirements, check for damage to the control arms and to related parts.
6. Tighten the nut on the thinner shim pack first. This improves the shaft-to-frame clamping force. This also improves torque retention.