Operation CHARM: Car repair manuals for everyone.
Manuals through 2025 now available!

Our trusted friends have launched a new website named LEMON, which has newer manuals. It also contains all the CHARM manuals.

LEMON is the spiritual successor to CHARM, I recommend you try it!

Link: lemon-manuals.la or lemon-manuals.org.ua

(Some people have issue connecting. LEMON is investigating. For now, use Firefox or change your DNS server)

Or, hide this message: temporarily or permanently

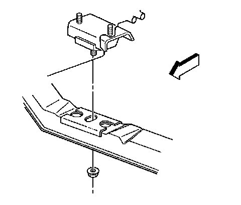
Cross-Member: Service and Repair



Transmission Support Replacement (RWD)

Removal Procedure




1. Raise and suitably support the vehicle. Refer to Vehicle Lifting.
2. Install the transmission jack to the transmission and support the transmission.
3. Disconnect the transmission wiring harness from the transmission support, if necessary.
4. Remove the transmission mount to the transmission support stud nut, 2.2 L.




5. Remove the transmission mount to the transmission support stud nut, 4.3 L pickup and utilities.




6. Remove the catalytic converter hanger bracket from the transmission support mounting bolts, 2.2 L if necessary.




7. Remove the catalytic converter hanger bracket from the transmission support mounting bolts, 4.3 L if necessary.




8. Remove the transmission support to the frame nuts, bolts, and reinforcement, 2.2 L.




9. Remove the transmission support to the frame nuts, bolts, and reinforcement, 4.3 L pickup.




10. Remove the transmission support to the frame nuts, bolts, and reinforcements, utilities.
11. Remove the transmission support.

Installation Procedure




1. Install the transmission support.

Notice: Refer to Fastener Notice in Service Precautions.

2. Install the transmission support to the frame nuts, bolts, and reinforcements, utilities.

Tighten the transmission support to the frame nuts to 54 N.m (40 lb ft).




3. Install the transmission support to the frame nuts, bolts, and reinforcement, 4.3 L pickup.

Tighten the transmission support to the frame nuts to 54 N.m (40 lb ft).




4. Install the transmission support to the frame nuts, bolts, and reinforcement, 2.2 L.

Tighten the transmission support to the frame nuts to 54 N.m (40 lb ft).




5. Install the catalytic converter hanger bracket to the transmission support mounting bolts, 4.3 L if necessary.

Tighten the catalytic converter hanger bracket to the transmission support mounting bolts to 17 N.m (13 lb ft).




6. Install the catalytic converter hanger bracket to the transmission support mounting bolts, 2.2 L if necessary.

Tighten the catalytic converter hanger bracket to the transmission support mounting bolts to 17 N.m (13 lb ft).




7. Install the transmission mount to the transmission support stud nut, 4.3 L pickup and utilities.

Tighten the transmission mount to the transmission support stud nut to 45 N.m (33 lb ft).




8. Install the transmission mount to the transmission support stud nut, 2.2 L pickup.

Tighten the transmission mount to the transmission support stud nut to 45 N.m (33 lb ft).

9. Connect the transmission wiring harness to the transmission support, if necessary.
10. Remove the transmission jack from the transmission.
11. Lower the vehicle.