Operation CHARM: Car repair manuals for everyone.
Manuals through 2025 now available!

Our trusted friends have launched a new website named LEMON, which has newer manuals. It also contains all the CHARM manuals.

LEMON is the spiritual successor to CHARM, I recommend you try it!

Link: lemon-manuals.la or lemon-manuals.org.ua

(Some people have issue connecting. LEMON is investigating. For now, use Firefox or change your DNS server)

Or, hide this message: temporarily or permanently

Seat Back Recliner Replacement - Front



SEAT BACK RECLINER REPLACEMENT - FRONT

REMOVAL PROCEDURE
1. Remove the seat from the vehicle.
2. Remove the seat cushion outer trim panel.
3. Remove the seat cushion cover and pad.
4. Remove the seat back cover and pad.




5. Remove the seat adjuster cable (1) from the seat adjuster.
6. Remove the cable end from the seat adjuster (2) by removing the ball though the round opening.




7. Remove the 4 bolts securing the recliner assembly to the seat adjuster.




8. Remove the 4 bolts securing the recliner assembly to the seat back.
9. Remove the seat back recliners.




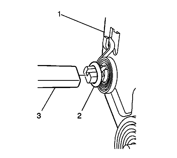
10. Remove the dump tube (3) from the recliners (1).
11. Inspect the O-ring (2) on each recliner and replace if necessary. Do not remove the spring.

INSTALLATION PROCEDURE




1. Install the O-ring (2) on the recliner (1).
2. Install the dump tube (3) on the recliners.




3. Install the 4 bolts securing the recliner assembly to the seat adjuster.

NOTE: Refer to Fastener Notice in Service Precautions.

Tighten the seat recliner mounting bolts to 26 N.m (19 lb ft).




4. Install the 4 bolts securing the recliner assembly to the seat back.

Tighten the seat recliner mounting bolts to 26 N.m (19 lb ft).




5. Install the cable end from the seat adjuster (2) by inserting the ball though the round opening.
6. Install the seat adjuster cable (1) to the seat adjuster.
7. Install the seat back cover and pad.
8. Install the seat cushion cover and pad.
9. Install the seat cushion outer trim panel.
10. Install the seat in the vehicle.