Operation CHARM: Car repair manuals for everyone.
Manuals through 2025 now available!

Our trusted friends have launched a new website named LEMON, which has newer manuals. It also contains all the CHARM manuals.

LEMON is the spiritual successor to CHARM, I recommend you try it!

Link: lemon-manuals.la or lemon-manuals.org.ua

(Some people have issue connecting. LEMON is investigating. For now, use Firefox or change your DNS server)

Or, hide this message: temporarily or permanently

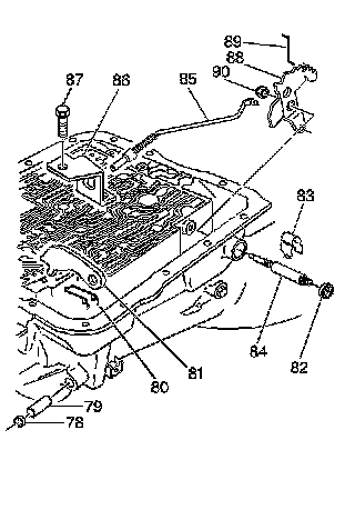
Parking Lock and Manual Shift Shaft Assembly



Disassembled Views

Parking Lock and Manual Shift Shaft Assembly:





78 - Steel Cup Plug
79 - Parking Brake Pawl Shaft
80 - Parking Pawl Return Spring
81 - Parking Brake Pawl
82 - Manual Shaft Seal
83 - Manual Shaft Retainer
84 - Manual Shaft (Model Dependent)
85 - Parking Lock Actuator Assembly
86 - Parking Lock Bracket
87 - Parking Lock Bracket (2) Bolt
88 - Inside Detent Lever
89 - Manual Valve Link
90 - Hex Head Nut