Operation CHARM: Car repair manuals for everyone.
Manuals through 2025 now available!

Our trusted friends have launched a new website named LEMON, which has newer manuals. It also contains all the CHARM manuals.

LEMON is the spiritual successor to CHARM, I recommend you try it!

Link: lemon-manuals.la or lemon-manuals.org.ua

(Some people have issue connecting. LEMON is investigating. For now, use Firefox or change your DNS server)

Or, hide this message: temporarily or permanently

62. Engine Block Plug Installation



Engine Block Plug Installation
^ Tools Required
- J 41712 Oil Pressure Switch Socket or equivalent





Important:
^ Engine block plug, oil gallery and coolant, sealing washers may be used again if not bent, scored or otherwise damaged.
^ Apply the proper amount and type of sealant to the sealing washer as recommended in the service procedure.

1. Apply a 3.175 mm (0.125 inch) bead of sealant GM P/N 12346004 (Canadian P/N 10953480) or equivalent to the engine block coolant heater sealing washer, if applicable. Refer to Sealers, Adhesives, and Lubricants.

Notice:
Refer to Fastener Notice in Service Precautions.

2. Install the engine block coolant heater to the engine block, if applicable.
Tighten the block coolant heater to 40 Nm (30 ft. lbs.).





3. Apply a 3.175 mm (0.125 inch) bead of sealant GM P/N 12346004 (Canadian P/N 10953480) or equivalent to the engine block left rear coolant drain plug sealing washer, if applicable.
4. Install the engine block left rear coolant drain plug, if applicable.
Tighten the block left rear coolant drain plug to 60 Nm (44 ft. lbs.).





5. Apply a 3.175 mm (0.125 inch) bead of sealant GM P/N 12346004 (Canadian P/N 10953480) or equivalent to the engine block right rear coolant drain plug sealing washer.
6. Install the engine block right rear coolant drain plug.
Tighten the block right rear coolant drain plug to 60 Nm (44 ft. lbs.).





7. Apply a 3.175 mm (0.125 inch) bead of sealant GM P/N 12346004 (Canadian P/N 10953480) or equivalent to the engine block left front oil gallery plug sealing washer.
8. Install the engine block left front oil gallery plug.
Tighten the block left front oil gallery plug to 60 Nm (44 ft. lbs.).





9. Apply a 3.175 mm (0.125 inch) bead of sealant GM P/N 12346004 (Canadian P/N 10953480) or equivalent to the engine block left rear oil gallery plug sealing washer.
10. Install the engine block left rear oil gallery plug.
Tighten the block left rear oil gallery plug to 60 Nm (44 ft. lbs.).





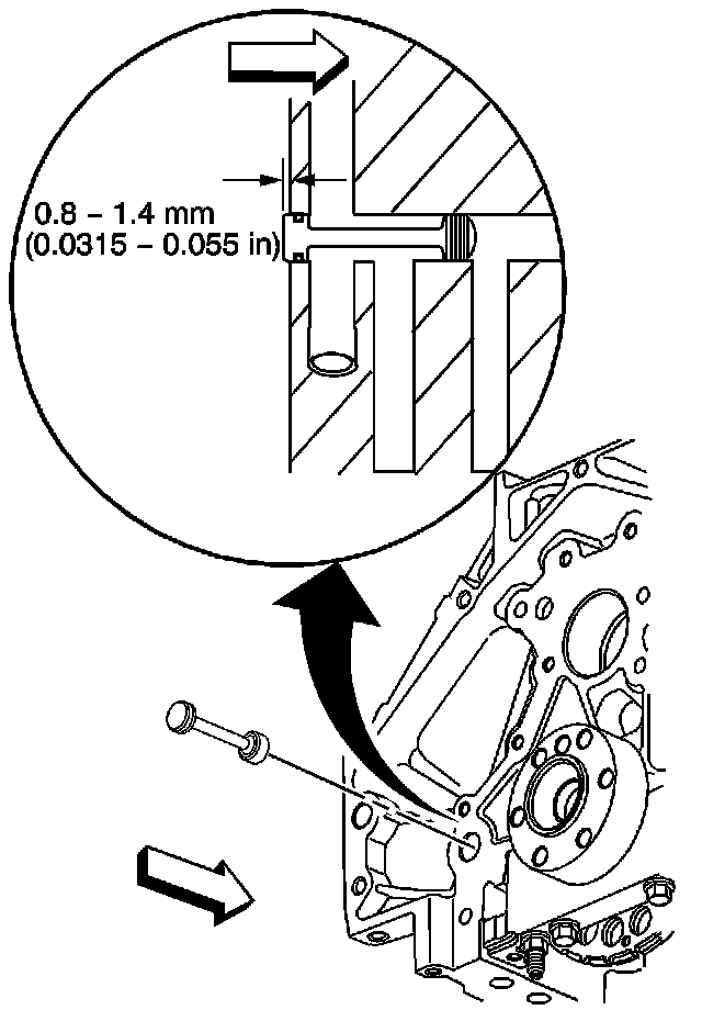
11. Inspect the engine block rear oil gallery plug and O-ring seal. If the O-ring seal on the plug is not cut or damaged, the rear oil gallery plug may be used again.
12. Lubricate the O-ring seal with clean engine oil.
13. Install the block rear oil gallery plug into the oil gallery bore. A properly installed block plug will protrude 0.8 - 1.4 mm (0.0315 - 0.055 inch) beyond the rear face of the block.





Important:
The engine block front oil gallery plug should not be removed unless service is required.

14. Apply sealant GM P/N 12345382 (Canadian P/N 10953489) or equivalent to the sides of the NEW front oil gallery plug.
15. Install a NEW engine block front oil gallery plug, if required. Install the front oil gallery plug into the oil gallery bore 2.2 - 2.8 mm (0.0086 - 0.011 inch) below flush.





16. Apply sealant GM P/N 12346004 (Canadian P/N 10953480) or equivalent to the threads of the oil pressure sensor.
17. Use the J 41712 or equivalent in order to install the oil pressure sensor.
Tighten the oil pressure sensor to 20 Nm (15 ft. lbs.).