Operation CHARM: Car repair manuals for everyone.
Manuals through 2025 now available!

Our trusted friends have launched a new website named LEMON, which has newer manuals. It also contains all the CHARM manuals.

LEMON is the spiritual successor to CHARM, I recommend you try it!

Link: lemon-manuals.la or lemon-manuals.org.ua

(Some people have issue connecting. LEMON is investigating. For now, use Firefox or change your DNS server)

Or, hide this message: temporarily or permanently

Explanation of Scheduled Services

EXPLANATION OF SCHEDULED SERVICES
The following text and illustrations describe the details of the required scheduled maintenance services.

ENGINE OIL AND FILTER CHANGE
Change the engine oil and filter.

IMPORTANT: When adding to, or changing the engine oil, use ONLY oils of the proper quality.

Oils of the proper quality for the vehicle can be identified by looking for the STARBURST symbol. The STARBURST symbol indicates that the oil has been certified by the American Petroleum Institute (API), and is preferred for use in gasoline engines.






The recommended oil viscosity for all vehicles is SAE 5W-30.

Engine oil viscosity (thickness) has an effect on the fuel economy and the cold-weather operation (starting and oil flow). Lower viscosity engine oils can provide better fuel economy and cold-weather performance. However, higher temperature weather condition require higher viscosity engine oils for satisfactory lubrication. When the temperature is consistently above -18°C (0°F) , SAE 10W-30 can be used. SAE 20W-50 or oils of other viscosity rating or quality designations are NOT recommended for use in any GMC vehicle at any time.

NOTICE: Using oils of any viscosity other than those recommended could result in engine damage. When choosing an oil, consider the range of temperatures the vehicle will be operated in before the next oil change. Then, select the recommended oil viscosity.

ENGINE OIL QUALITY AND VISCOSITY, OTHER THAN THE UNITED STATES AND CANADA





IMPORTANT: When adding to, or changing the engine oil, use ONLY oils of the proper quality.

In countries other than the United States and Canada, it may be difficult to find engine oils that display the API STARBURST symbol certifying the oil is for use in gasoline engines. If you are unable to find engine oils displaying the API STARBURST symbol, use engine oils that meet API Service SJ and/or ACEA A1-96, ACEA A2-96, or ACEA A3-96 requirements as shown in the chart above.

NOTICE: Using oils of any viscosity other than those recommended could result in engine damage. When choosing an oil, consider the range of temperatures the vehicle will be operated in before the next oil change. Then, select the recommended oil viscosity.

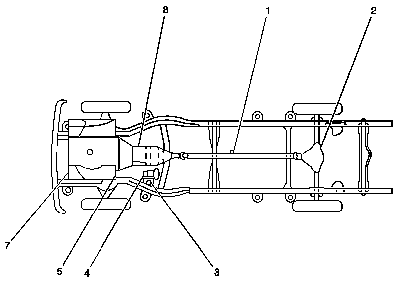
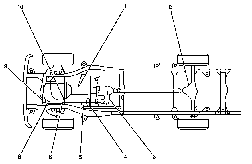
CHASSIS LUBRICATION
Lubricate transaxle shift linkage. Lubricate the parking brake guides, underbody contact points and linkage.

2 Wheel Drive:




(1) Prop Shaft Slip Joint
(2) Rear Axle Differential
(3) Clutch Actuator
(4) Master Cylinder
(5) Oil Filter
(7) Engine
(8) Transmission

4 Wheel Drive:




(1) Transmission
(2) Rear Axle Differential
(3) Transfer Case
(4) Clutch Actuator
(5) Master Cylinder
(6) Engine
(8) Front Axle Differential
(9) Oil Filter
(10) Front Propeller Shaft

LUBRICATING JOINTS THAT HAVE GREASE FITTINGS

Lubrication Fittings:






IMPORTANT: Wipe off all dirt from the grease fitting before lubricating the joint. Ball joints should not be lubricated unless their temperature is -12°C (10°F) or higher. During cold weather, the ball joint should be allowed to warm up as necessary before being lubricated. Use a low-pressure grease gun on all joints to prevent seal damage.

Apply grease slowly while watching the grease seal. Apply grease until grease is seen bleeding from the seal. If the seal expands but no grease is seen, do not apply any more grease and allow time for the grease to bleed from the seal.

TIRE INSPECTION AND ROTATION
The tires on your vehicle are different sizes front to rear. Due to this, your tires should not be rotated. Each tire and wheel should be used only in the position it is in. Check your tires and wheels regularly for unusual wear and damage.

ACCESSORY DRIVE BELT INSPECTION
Inspect the accessory drive belts for the following:
^ Cracks
^ Fraying
^ Wear
^ Proper tension
Replace as needed. (Belts can have many small cracks in individual ribs without affecting the performance.

DRIVE AXLE SERVICE
Change the axle fluid according to the maintenance schedule intervals. For the maintenance schedule refer to Scheduled Maintenance.

AUTOMATIC TRANSMISSION SERVICE
Change both the fluid and the filter according to the maintenance schedule intervals.

SPARK PLUG REPLACEMENT
Replace the spark plugs according to the maintenance schedule intervals with the correct type.

SPARK PLUG WIRE INSPECTION
Clean the spark plug wires and inspect for burns, cracks or other damage. Check the wire boot fit at the coils and at the spark plugs. Replace wires as needed.

FUEL FILTER REPLACEMENT
Replace the fuel filter according to the maintenance schedule intervals with the correct type.

AIR CLEANER FILTER REPLACEMENT
Replace the air cleaner filter according to the maintenance schedule intervals with the correct type.