Operation CHARM: Car repair manuals for everyone.
Manuals through 2025 now available!

Our trusted friends have launched a new website named LEMON, which has newer manuals. It also contains all the CHARM manuals.

LEMON is the spiritual successor to CHARM, I recommend you try it!

Link: lemon-manuals.la or lemon-manuals.org.ua

(Some people have issue connecting. LEMON is investigating. For now, use Firefox or change your DNS server)

Or, hide this message: temporarily or permanently

Grid Line Repair

GRID LINE REPAIR

TOOLS REQUIRED
- J 25070 Heat Gun - Capable of 260 °C (500 °F) or equivalent
- Test Lamp
- Rear Window Defogger Repair Kit GM P/N 12346001, Canada P/N 10951643 or equivalent

REMOVAL PROCEDURE
1. Disconnect the electrical connector.

CAUTION: To avoid personal injury:
- Do not allow the repair material to come in contact with skin or eyes and avoid breathing vapors.
- Do not use near sparks or open flame.


1. Inspect the rear window grid lines.
2. Ensure that the rear window is at room temperature.
3. Inspect the grid line area that you will repair. Verify that the area is dry and free from contaminates.
4. Dampen a cloth with isopropyl alcohol. Use the damp cloth in order to wipe the grid line area clean.

INSTALLATION PROCEDURE




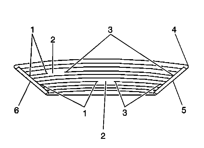
1. Use a grease pencil in order to mark the grid line break (2) on the outside of the rear window with a grease pencil.

IMPORTANT:
- Ensure that the grid line repair material is not beyond the expiration date.
- Repair decal or tape must be used in order to control the width of the repair area.
- If the repair decal is used, verify that the die-cut metering slot is the same width as the grid line.
- Thoroughly stir the grid line repair material until a uniform color appears.
- Verify that there are no air bubbles in the grid line repair material in the repair area.




1. Using GM P/N 12346001 (Canadian P/N 10951643) or equivalent to repair the grid lines.
Apply the grid line repair (2) decal or 2 strips of the tape above and below the repair area.
2. Use the brush (3) in order to spread the grid line repair material (1). Ensure that the repair material covers all of the areas of the cut out.
3. Without disturbing the grid line repair material, carefully remove the decal or tape (2).

NOTE: The grid line repair material must be cured with heat. To avoid heat damage to the interior trim, protect the trim near the repair area where heat is to be applied.




4. Use a heat gun in order to repair the grid line:
- Hold the heat gun nozzle 25 mm (1 in) from the surface.
- Heat the repair area for 2-3 minutes.

IMPORTANT: Use J 25070 capable of 260 °C (500 °F) or equivalent. If you do not use a heat gun, allow at least 24 hours at an ambient temperature of 21-32 °C (70-90 °F) for complete curing of the repair materials. Do NOT physically disturb the repair area until after that time.
The grid line will be electrically operative immediately after the repair.

5. Connect the electrical connector.
6. Test the grid line operation in order to verify the grid line repair.