Operation CHARM: Car repair manuals for everyone.
Manuals through 2025 now available!

Our trusted friends have launched a new website named LEMON, which has newer manuals. It also contains all the CHARM manuals.

LEMON is the spiritual successor to CHARM, I recommend you try it!

Link: lemon-manuals.la or lemon-manuals.org.ua

(Some people have issue connecting. LEMON is investigating. For now, use Firefox or change your DNS server)

Or, hide this message: temporarily or permanently

Tailgate: Service and Repair



End Gate Replacement

Removal Procedure

1. Remove the endgate hinge cover from the vehicle by gently prying in order to release the plastic retainers that retain the cover.
2. Remove the spare wheel carrier. Refer to Spare Tire Carrier Replacement in Tires and Wheels.
3. Remove the endgate trim panel seal. Refer to Water Deflector Replacement (2 Door) (Water Deflector Replacement (2 Door))Water Deflector Replacement (4 Door) (Water Deflector Replacement (4 Door)) .
4. Remove the rear license plate housing. Refer to License Plate Lamp Cover Replacement - Rear Door (2 Door) (License Plate Lamp Cover Replacement - Rear Door (2 Door))License Plate Lamp Cover Replacement - Rear Door (4 Door) (License Plate Lamp Cover Replacement - Rear Door (4 Door)) .
5. Remove the endgate lock cylinder. Refer to Lock Cylinder Replacement - End Gate (Service and Repair) .
6. Remove the endgate lock. Refer to Lock Replacement - Rear Door (2 Door) (Lock Replacement - Rear Door (2 Door))Lock Replacement - Rear Door (4 Door - Without Power Locks) (Lock Replacement - Rear Door (4 Door - Without Power Locks))Lock Replacement - Rear Door (4 Door - With Power Locks) (Lock Replacement - Rear Door (4 Door - With Power Locks)) .




7. Remove the endgate bumper. Refer to Bumper Replacement - Rear Door (2 Door) (Rear Door Bumper Replacement (2 Door))Bumper Replacement - Rear Door (4 Door) (Rear Door Bumper Replacement (4 Door)) .
8. Remove the endgate strut. Refer to Strut Replacement - End Gate (Service and Repair) .
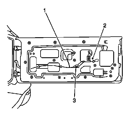
9. Remove the screw (2) that retain the endgate wiring harness ground wire (1).
10. Release the plastic retainers (3) that retain the endgate door wiring harness (1) to the endgate panel.
11. Feed the wiring harness (1) through the endgate panel.
12. Remove the grommet and wiring harness (1) from the endgate panel.




13. Suitably support the endgate panel.
14. Remove the 4 bolts (3) that retain the endgate lower hinge to the endgate panel (2).
15. Remove the 2 bolts (1) that retain the endgate upper hinge to the endgate panel (2).
16. Remove the endgate panel (2) from the vehicle.



Installation Procedure





1. Install the endgate panel (2) to the vehicle. Secure the endgate with the 2 endgate upper hinge bolts (1). Do not tighten completely at this time.

Notice: Refer to Fastener Notice in Cautions and Notices.

2. Install the 4 bolts (3) that retain the endgate lower hinge to the endgate panel (2).

Tighten the endgate hinge bolts to 34 N.m (25 lb ft).

3. Remove the support from the endgate panel.




4. Install the grommet and endgate wiring harness (1) to the endgate panel.
5. Feed the wiring harness (1) through the endgate panel. Secure the wiring harness to the endgate with the plastic retainers (3).
6. Install the screw (2) that retain the endgate wiring harness ground wire (1).
7. Install the endgate strut. Refer to Strut Replacement - End Gate (Service and Repair) .
8. Install the endgate bumper. Refer to Bumper Replacement - Rear Door (2 Door) (Rear Door Bumper Replacement (2 Door))Bumper Replacement - Rear Door (4 Door) (Rear Door Bumper Replacement (4 Door)) .
9. Install the endgate lock. Refer to Lock Replacement - Rear Door (2 Door) (Lock Replacement - Rear Door (2 Door))Lock Replacement - Rear Door (4 Door - Without Power Locks) (Lock Replacement - Rear Door (4 Door - Without Power Locks))Lock Replacement - Rear Door (4 Door - With Power Locks) (Lock Replacement - Rear Door (4 Door - With Power Locks)) .
10. Install the endgate lock cylinder. Refer to Lock Cylinder Replacement - End Gate (Service and Repair) .
11. Install the rear license plate housing. Refer to License Plate Lamp Cover Replacement - Rear Door (2 Door) (License Plate Lamp Cover Replacement - Rear Door (2 Door))License Plate Lamp Cover Replacement - Rear Door (4 Door) (License Plate Lamp Cover Replacement - Rear Door (4 Door)) .
12. Install the endgate trim panel seal. Refer to Water Deflector Replacement (2 Door) (Water Deflector Replacement (2 Door))Water Deflector Replacement (4 Door) (Water Deflector Replacement (4 Door)) .
13. Install the spare wheel carrier. Refer to Spare Tire Carrier Replacement in Tires and Wheels.
14. Install the endgate hinge cover to the endgate panel. Ensure that the plastic retainers are completely engaged.




15. Adjust the striker (1) vertical measurement in order to align with the center of the endgate lock (2).
16. Keep the lock striker (1) level while moving the striker sideways in order to adjust the endgate flushness with the quarter panel, as needed. Refer to Door Adjustment Specifications (Door Adjustment Specifications) in Doors.