Operation CHARM: Car repair manuals for everyone.
Manuals through 2025 now available!

Our trusted friends have launched a new website named LEMON, which has newer manuals. It also contains all the CHARM manuals.

LEMON is the spiritual successor to CHARM, I recommend you try it!

Link: lemon-manuals.la or lemon-manuals.org.ua

(Some people have issue connecting. LEMON is investigating. For now, use Firefox or change your DNS server)

Or, hide this message: temporarily or permanently

Brake Pads Replacement

Brake Pads Replacement

Removal Procedure

Caution: Avoid taking the following actions when you service wheel brake parts:
- Do not grind brake linings.
- Do not sand brake linings.
- Do not clean wheel brake parts with a dry brush or with compressed air.
Some models or aftermarket brake parts may contain asbestos fibers which can become airborne in dust Breathing dust with asbestos fibers may cause surface bodily harm. Use a water-dampened cloth in order to remove any dust on brake parts. Equipment is available commercially in order to perform this washing function. These wet methods prevent fibers from becoming airborne.

1. Remove two-thirds of the brake fluid from the master cylinder reservoir using a siphon.
2. Raise and support the vehicle. Refer to Vehicle Lifting.
Vehicle Lifting

3. Remove the tire and wheel assembly.







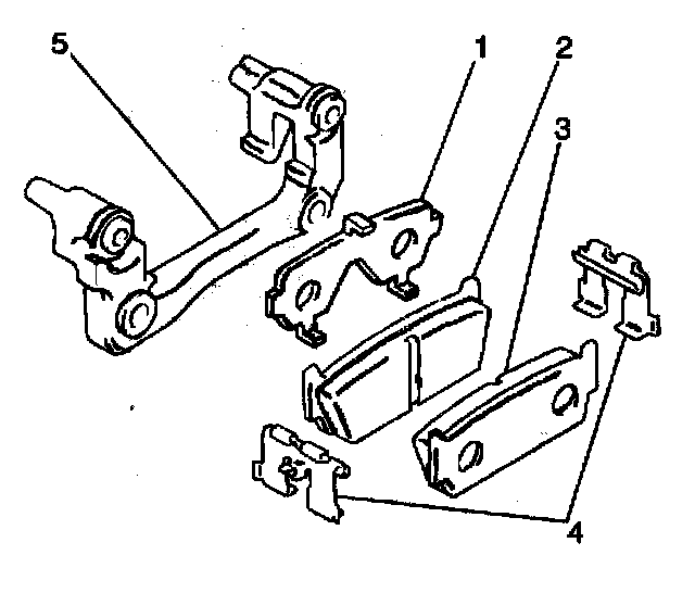
4. Remove the 2 caliper pin bolts (2).

Notice: Do not allow the brake components to hang from the flexible brake hoses. Damage to the brake hoses could result.







5. Remove the caliper assembly (4) from the caliper bracket. Suspend the caliper assembly with wire in order to prevent damage to the brake hose.







6. Remove the 2 brake pads (2, 3) from the caliper bracket (5).
7. Remove the 2 brake pad retainers (4).
8. Remove the 2 brake pad insulators (1).



Inspection Procedure







1. Measure the brake pads. Specification The minimum thickness of the pad and the plate is 7.5 mm (0.295 inch).
2. If the thickness of the pad and the plate is less than the minimum specification, replace the pads.



Installation Procedure







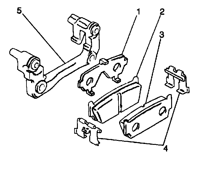
1. Install the 2 brake pad insulators (1) to the brake pads (3, 4).
2. Install the 2 brake pad retainers (4).

Important: Install the brake pad with the wear indicator to the inner pad position.

3. Install the 2 brake pads to the caliper bracket (5).

Notice: Refer to Fastener Notice in Service Precautions.
Fastener Notice


Important: Verify the boots fit into the grooves securely.







4. Install the caliper (1) to the caliper bracket. Install the 2 caliper pin bolts.
- Tighten the caliper pin bolts to 27 Nm (20 ft. lbs.).

5. Install the tire and wheel assembly.
6. Lower the vehicle.
7. Fill the master cylinder reservoir.
8. Start the engine.
9. Press the brake pedal several times in order to position the caliper piston.
10. Burnish the pads.