Operation CHARM: Car repair manuals for everyone.
Manuals through 2025 now available!

Our trusted friends have launched a new website named LEMON, which has newer manuals. It also contains all the CHARM manuals.

LEMON is the spiritual successor to CHARM, I recommend you try it!

Link: lemon-manuals.la or lemon-manuals.org.ua

(Some people have issue connecting. LEMON is investigating. For now, use Firefox or change your DNS server)

Or, hide this message: temporarily or permanently

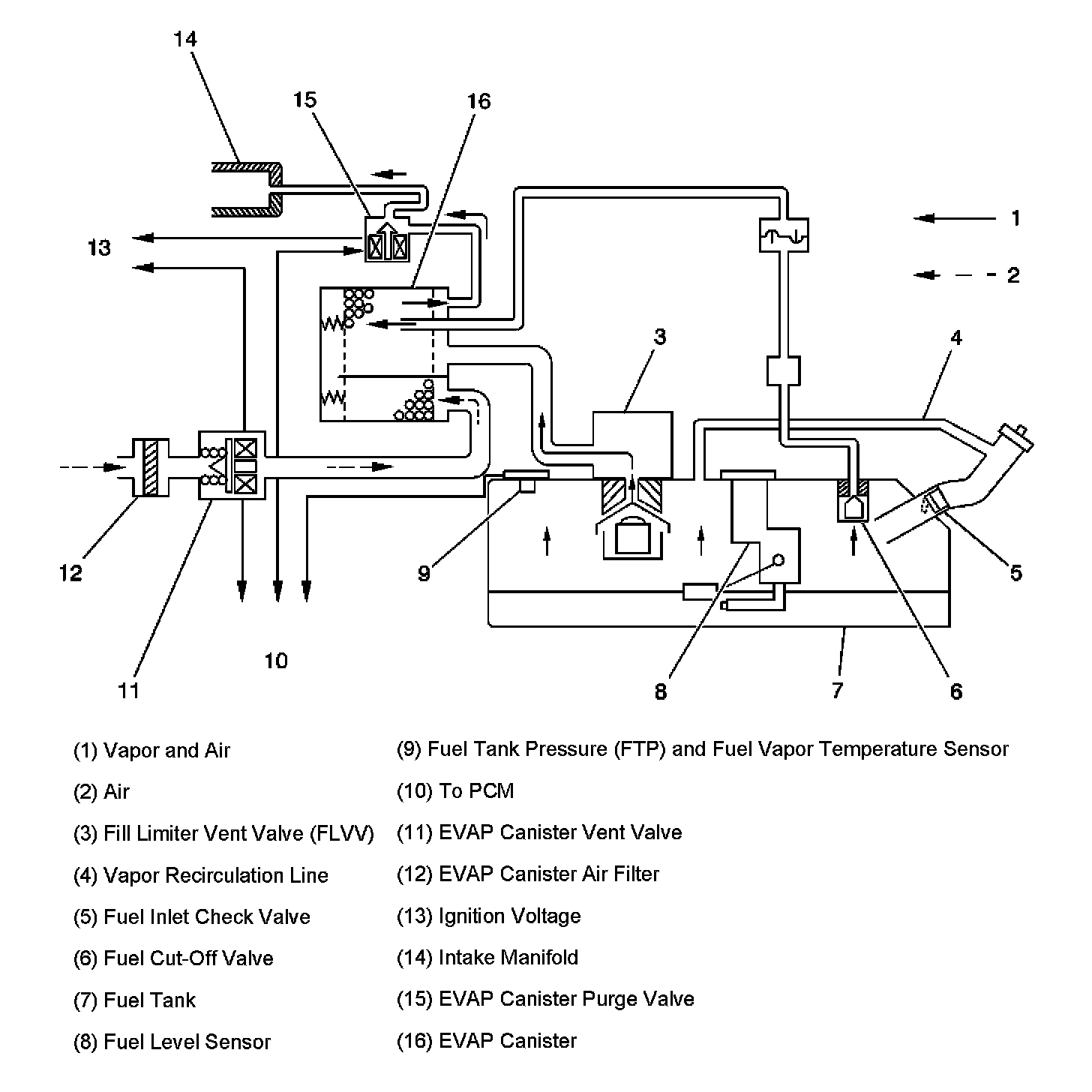
Evaporative Emission (EVAP) Control System





The Evaporative Emission (EVAP) control system limits fuel vapor emissions to the atmosphere. The EVAP system transfers the fuel vapor from a sealed fuel tank to an activated carbon (charcoal) storage device (EVAP canister). The EVAP canister will store the fuel vapors until the engine is able to use them.

When the engine is able to use the extra fuel vapor, the fuel vapor is purged from the carbon element by intake air flow and consumed in the normal combustion process.

The enhanced evaporative emission (EVAP) system is required to detect evaporative fuel system leaks as small as 0.5 mm (0.020 inch) between the fuel filler cap and the purge valve. The system can test the evaporative emission system integrity by applying a vacuum signal, ported or manifold, to the fuel tank. This will create a small vacuum that can be monitored for leaks.

Enhanced Evaporative Emission (EVAP) Control System
The EVAP control system prevents the emission of the fuel vapors. The fuel vapor generated in the fuel tank while driving or idling, passes through a tank pressure control valve and enters the EVAP canister where a charcoal element absorbs and stores the fuel vapor.

The EVAP canister vent valve with the Fuel Tank Pressure (FTP) and fuel vapor temperature sensor are provided for fuel vapor leak diagnosis. The EVAP canister vent valve is usually open and is closed by the PCM when checking for any leakage.

The EVAP purge solenoid valve allows the manifold vacuum to purge the canister. The PCM supplies a ground in order to energize, purge ON, the EVAP purge solenoid valve. The EVAP purge solenoid control is Pulse Width Modulated (PWM), or turned ON and OFF several times per second.

The PWM duty cycle of the EVAP canister purge valve varies according to the operating conditions determined by the MAF sensor, the fuel trim, the engine coolant temperature. For certain EVAP tests, the diagnostic will be disabled if the TP angle increases to more than 75 percent.

The evaporative leak detection diagnostic strategy is based on applying vacuum to the EVAP system and monitoring the vacuum decay. The PCM monitors the fuel tank pressure or vacuum level via the fuel tank pressure (FTP) sensor input.

The PCM monitors the vacuum level via the fuel tank pressure sensor input. At an appropriate time, the EVAP purge solenoid and the EVAP vent solenoid are turned on, allowing engine vacuum to draw a small vacuum on the entire evaporative emission system. After the desired vacuum level has been achieved, the EVAP purge solenoid is turned OFF, sealing the system. A leak is detected by monitoring for a decrease in the vacuum level during a specific time period, with all other variables remaining constant. If the desired vacuum level cannot be achieved in the test described above, a large leak or a faulty EVAP purge solenoid is indicated.

The fuel level sensor input and the fuel vapor temperature input are used by the PCM to determine if the conditions are correct to run the EVAP diagnostic tests. First the Engine Coolant Temperature (ECT) and the Intake Air Temperature (IAT) need to be near the same value at engine start up. Next the fuel vapor temperature and the IAT must also be near the same temperature at engine start up. In order to ensure sufficient volume is in the tank to begin the various diagnostic tests, the fuel level must be between 15-85 percent.

Results of Incorrect Operation of the EVAP System
Poor idle, stalling, and poor driveability can be caused by the following conditions:
- A damaged EVAP canister
- Hoses that are split, cracked, or incorrectly connected to the proper tubes
- A malfunctioning purge valve

Evidence of fuel loss or fuel vapor odor can be caused by the following conditions:
- Liquid fuel leaking from fuel pipes
- A cracked or damaged EVAP canister
- Disconnected, misrouted, kinked, deteriorated, or damaged vapor hoses
- Broken or leaking solenoids and components