Operation CHARM: Car repair manuals for everyone.
Manuals through 2025 now available!

Our trusted friends have launched a new website named LEMON, which has newer manuals. It also contains all the CHARM manuals.

LEMON is the spiritual successor to CHARM, I recommend you try it!

Link: lemon-manuals.la or lemon-manuals.org.ua

(Some people have issue connecting. LEMON is investigating. For now, use Firefox or change your DNS server)

Or, hide this message: temporarily or permanently

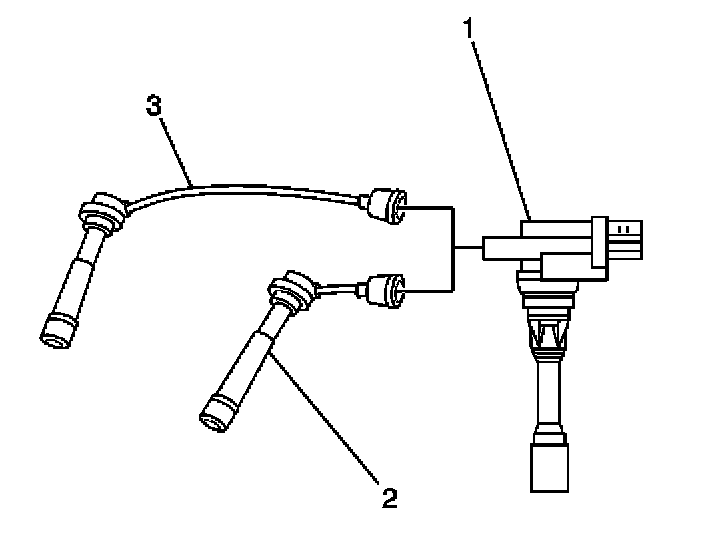
Ignition Coil: Service and Repair

REMOVAL PROCEDURE
1. Disconnect the spark plug wire of the faulty ignition coil from the spark plug.
2. Disconnect the electrical connector from the faulty ignition coil.




3. Remove the two bolts (1) that secure the ignition coil 1 (2) or the ignition coil 2 (3) to the valve cover.
4. Remove the ignition coil 1 (2) or the ignition coil 2 (3) from the valve cover.




5. Disconnect the 1 cylinder spark plug wire (3) from the ignition coil (1) or the 2 cylinder spark plug wire (2) from the ignition coil (1).

INSTALLATION PROCEDURE




1. Install the 1 cylinder spark plug wire (3) to the ignition coil (1) or the 2 cylinder spark plug wire (2) to the ignition coil (1).




2. Install the ignition coil 1 (2) or the ignition coil 2 (3) to the valve cover.
3. Secure the ignition coil 1 (2) or the ignition coil 2 (3) to the valve cover with the two bolts (1).

NOTE: Refer to Fastener Notice in Service Precautions.

Tighten
Tighten the ignition coil attaching bolts (1) to 10 N.m (89 lb in).

4. Connect the electrical connector to the ignition coil.
5. Connect the spark plug wire to the spark plug.