Operation CHARM: Car repair manuals for everyone.
Manuals through 2025 now available!

Our trusted friends have launched a new website named LEMON, which has newer manuals. It also contains all the CHARM manuals.

LEMON is the spiritual successor to CHARM, I recommend you try it!

Link: lemon-manuals.la or lemon-manuals.org.ua

(Some people have issue connecting. LEMON is investigating. For now, use Firefox or change your DNS server)

Or, hide this message: temporarily or permanently

3. Input Shaft Replacement

Removal Procedure

^ Tools Required
^ J 34757Circlip Remover
^ J 22912-01 Split Plate
^ J 26941 Transmission Case Bearing Cup Remover
^ J 23907 Slide Hammer





1. Remove the input shaft needle bearing from the input shaft.
2. Use the J 34757 in order to remove the front input shaft bearing C-clip from the input shaft.
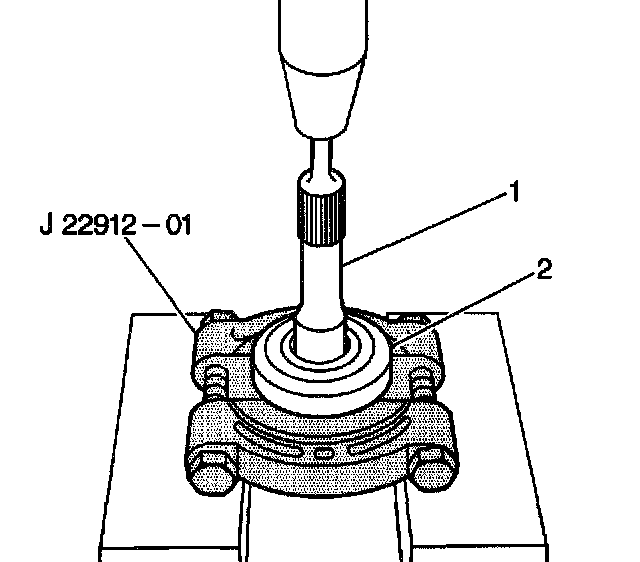
3. Use the J 22912-01 and a press arbor in order to remove the front input shaft bearing (2) From the input shaft (1).





4. Use the J 26941 and the J 23907 in order to remove the front input shaft oil seal (1) from the input shaft bearing retainer.
5. Clean the input shaft components with solvent. Air dry the components.
6. Clean the input shaft bearing retainer mating surface.
7. Inspect the shaft for scoring or excessive wear. Replace the shaft as necessary.
8. Inspect the shaft bearing for roughness or wear. Replace the shaft bearing as necessary.
9. Inspect the shaft needle bearing for roughness or damage. Replace the shaft needle bearing as necessary.

Installation Procedure

^ J 37209 Stub Shaft Seal Installer
^ J 37753 Bearing Installer
^ J 35664 Bearing Installer
^ J 36850 Transjel(R) Transmission Assembly Lubricant





1. Apply J 36850 to the input shaft bearing retainer seal surface.
2. Use a hammer and the J 37209 in order to install the new front input shaft oil seal (1) into the input shaft bearing retainer (2).





3. Use the J 37753 with the J 35664 and a press arbor in order to install the front input shaft bearing (1) onto the input shaft (2).





4. Install the front input shaft bearing C-clip (2) onto the input shaft.
5. Air-blow the lubrication oil hole (1).
6. Apply J 36850 to the input shaft needle bearing.





7. Install the input shaft needle bearing (1) into the input shaft (2).