Operation CHARM: Car repair manuals for everyone.
Manuals through 2025 now available!

Our trusted friends have launched a new website named LEMON, which has newer manuals. It also contains all the CHARM manuals.

LEMON is the spiritual successor to CHARM, I recommend you try it!

Link: lemon-manuals.la or lemon-manuals.org.ua

(Some people have issue connecting. LEMON is investigating. For now, use Firefox or change your DNS server)

Or, hide this message: temporarily or permanently

Transmission Speed Sensor: Service and Repair

Vehicle Speed Sensor (VSS) Replacement

^ Tools Required
- J 34833 Valve Guide Remover
- J 36850 Transjel Lubricant

Removal Procedure
1. Raise and support the vehicle. Refer to Vehicle Lifting.





2. Disconnect the vehicle speed sensor (2) from the speedometer drive gear case.
3. Remove the following items from the extension case:
^ The 1 bolt (1)
^ The ground wire
^ The speedometer driven gear case





4. Remove the following items from the speedometer driven gear case:
^ 1 roll pin (3)
^ The speedometer driven gear (2)





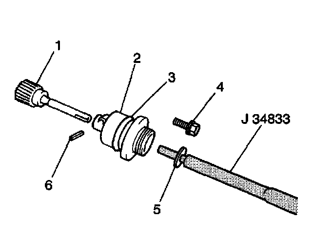
5. Remove the speedometer driven gear lip seal (1) from the speedometer driven gear case (2).
6. Inspect the speedometer driven gear for excessive wear or damage. Replace the speedometer driven gear if necessary.

Installation Procedure
1. Apply the J 36850 to the new speedometer driven gear lip seal.





2. Install the new speedometer driven gear lip seal into the speedometer driven gear case (2) using the J 34833.
3. Install the speedometer driven gear (1) into the speedometer gear case (2). Secure the speedometer driven gear with one roll pin.





Notice: Refer to Fastener Notice in Service Precautions.

4. Install the speedometer driven gear case to the extension case and the ground wire; secure with the 1 bolt (1).
^ Tighten the speedometer driven gear case retaining bolt to 12 Nm (106 inch lbs.).
5. Connect the vehicle speed sensor to the speedometer driven gear case.
6. Lower the vehicle.