Operation CHARM: Car repair manuals for everyone.
Manuals through 2025 now available!

Our trusted friends have launched a new website named LEMON, which has newer manuals. It also contains all the CHARM manuals.

LEMON is the spiritual successor to CHARM, I recommend you try it!

Link: lemon-manuals.la or lemon-manuals.org.ua

(Some people have issue connecting. LEMON is investigating. For now, use Firefox or change your DNS server)

Or, hide this message: temporarily or permanently

Heated Glass Element Relay: Service and Repair

REAR WINDOW DEFOGGER TIMER/RELAY REPLACEMENT

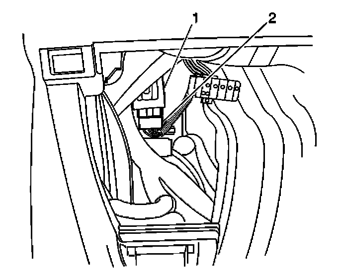
REMOVAL PROCEDURE




1. Remove the instrument panel steering column opening trim plate.
2. Disconnect the rear window defogger relay electrical connector (2).
3. Remove the following from the vehicle:
3.1. The screw
3.2. The rear window defogger relay (1)

INSTALLATION PROCEDURE




1. Install the rear window defogger relay (1) to the vehicle. Secure the relay with the screw.
2. Connect the rear window defogger relay electrical connector (2).
3. Install the instrument panel steering column opening trim plate.