Operation CHARM: Car repair manuals for everyone.
Manuals through 2025 now available!

Our trusted friends have launched a new website named LEMON, which has newer manuals. It also contains all the CHARM manuals.

LEMON is the spiritual successor to CHARM, I recommend you try it!

Link: lemon-manuals.la or lemon-manuals.org.ua

(Some people have issue connecting. LEMON is investigating. For now, use Firefox or change your DNS server)

Or, hide this message: temporarily or permanently

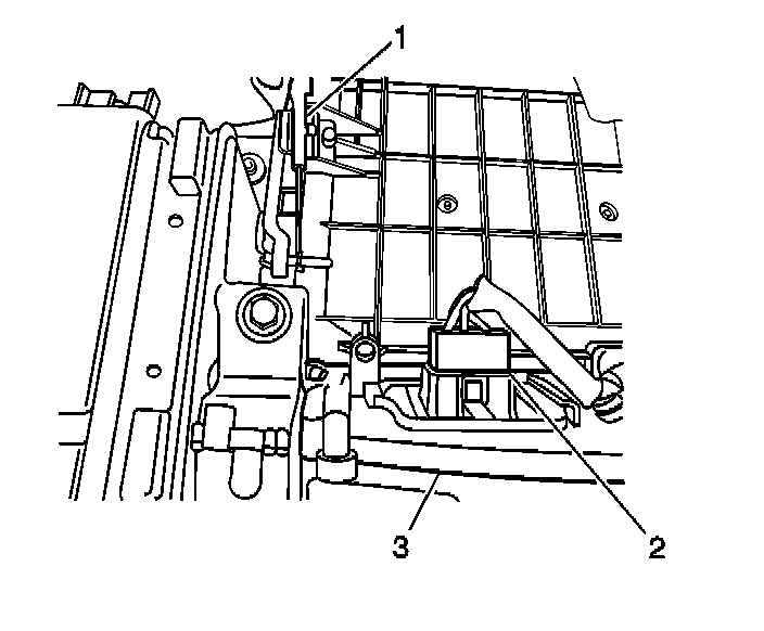
Blower Motor Resistor: Service and Repair

BLOWER MOTOR RESISTOR REPLACEMENT

REMOVAL PROCEDURE




1. Open the instrument panel (IP) compartment.
2. Push in the left and right side of the IP compartment and lower the IP compartment.




3. Disconnect the blower motor resistor electrical connector (2).
4. Remove the screw from the blower case.
5. Remove the blower motor resistor from the blower case.

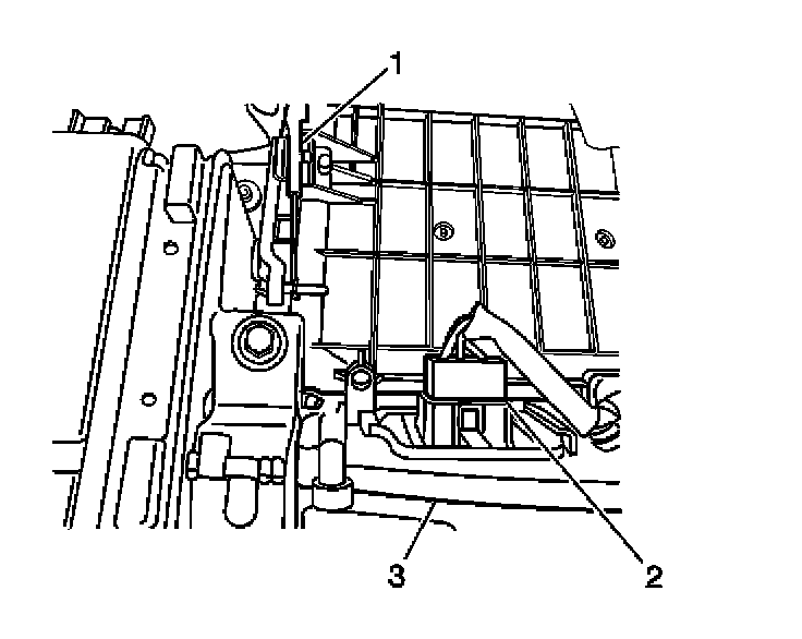
INSTALLATION PROCEDURE




1. Install the blower motor resistor to the blower case.
2. Secure the resistor with the screw.
3. Connect the blower motor resistor electrical connector (2).
4. Close the instrument panel compartment.