Front Axle
Lubricant Change1. Raise the vehicle. Support the vehicle.
2. If the vehicle is equipped with an engine skid plate, remove the four bolts that hold the skid plate in place. Remove the front skid plate from the vehicle.
3. Place a drain pan or suitable container under the front axle housing.
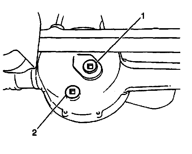
4. Remove the front axle housing oil level/filler plug (1) from the front axle housing.
5. Remove the front axle housing drain plug (2) from the front axle housing and drain the front axle oil.
Notice: Refer to Fastener Notice in Service Precautions.
6. Install the front axle housing drain plug (2) into the front axle housing.
Tighten the front axle housing drain plug to 23 Nm (17 ft. lbs.).
7. Refill the front axle housing with approximately 1 liter (1 qt.) of 80W-90 GL5 lubricant GM P/N 12345977 (Canadian P/N 10953842), or equivalent.
8. Install the front axle housing oil level/filler plug into the front axle housing.
Tighten the front axle housing oil level/filler plug to 40 Nm (30 ft. lbs.).
9. If the vehicle is equipped with an engine skid plate, install the front skid plate to the vehicle. Secure the skid plate with 4 bolts.
Tighten the front skid plate bolts to 54 Nm (40 ft. lbs.).
10. Remove the drain pan from under the front axle housing.
11. Lower the vehicle.