Operation CHARM: Car repair manuals for everyone.
Manuals through 2025 now available!

Our trusted friends have launched a new website named LEMON, which has newer manuals. It also contains all the CHARM manuals.

LEMON is the spiritual successor to CHARM, I recommend you try it!

Link: lemon-manuals.la or lemon-manuals.org.ua

(Some people have issue connecting. LEMON is investigating. For now, use Firefox or change your DNS server)

Or, hide this message: temporarily or permanently

Accumulator: Service and Repair

Accumulator and 2-1 Manual Servo Replacement

Removal Procedure
1. Raise and support the vehicle. Refer to Vehicle Lifting.
2. Remove the oil pan. Refer to Oil Pan Replacement.
3. Remove the filter. Refer to Oil Filter and Seal Replacement.





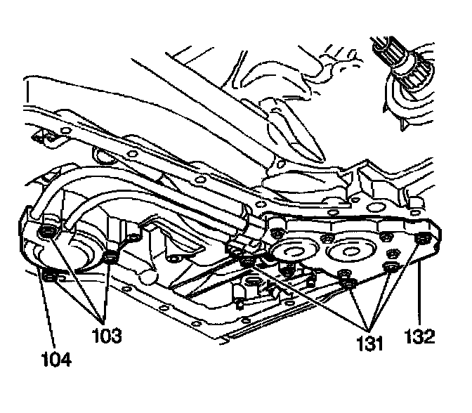
4. Remove the accumulator bolts (131).
5. Remove the manual 2-1 band servo cover bolts (103).





6. Use a large flat-bladed tool in order to gently pry the lube oil pipe retainer (129) from the case.
7. Remove the lube oil pipe (130) from the front differential carrier internal gear lube hole.





8. Remove the accumulator (132).
9. Remove the manual 2-1 band servo cover (104).





10. Remove the manual 2-1 band servo (106-116).
11. Remove the manual 2-1 band servo cover gasket (105).
12. To disassemble, inspect and service the accumulator and manual 2-1 band servo, refer to Transmission/Transaxle/Transfer Case Unit Repair.

Installation Procedure





1. Install the manual 2-1 band servo cover gasket (105) into the case. Lubricate the manual 2-1 band servo cover gasket with automatic transmission fluid.
2. Install the manual 2-1 band servo (106-116).
3. Install the manual 2-1 band servo cover (104).

Notice: Refer to Fastener Notice in Service and Precautions.

4. Install the manual 2-1 band servo cover bolts (103).
Tighten the bolts (103) to 25 Nm (18 ft. lbs.).





5. Install the accumulator (132).
6. Install the lube oil pipe (130) into the case at the lube hole for the front differential carrier internal gear.
7. Use a flat-bladed tool in order to lock the lube oil pipe retainer (129) into the case.





8. Install the accumulator bolts (131).
Tighten the bolts (131) to 12 Nm (106 inch lbs.).
9. If removed, install a new filter seal.
10. Install the filter. Refer to Oil Filter and Seal Replacement.
11. Install the oil pan. Refer to Oil Pan Replacement.
12. Lower the vehicle.