Operation CHARM: Car repair manuals for everyone.
Manuals through 2025 now available!

Our trusted friends have launched a new website named LEMON, which has newer manuals. It also contains all the CHARM manuals.

LEMON is the spiritual successor to CHARM, I recommend you try it!

Link: lemon-manuals.la or lemon-manuals.org.ua

(Some people have issue connecting. LEMON is investigating. For now, use Firefox or change your DNS server)

Or, hide this message: temporarily or permanently

Front Wheel Alignment

Front Caster and Camber Adjustment (RWD)

Important: Before you adjust caster and camber angles, raise and release the front bumper. Do this twice in order to allow the vehicle to return to a normal height.





1. Adjust the caster and the camber by inserting shims between the upper control arm shaft and the frame bracket. Add shims or subtract shims or transfer shims in order to change the readings.
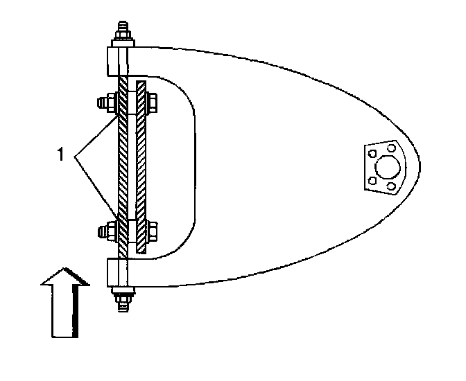
2. In order to adjust the caster and the camber, loosen the upper control arm shaft-to-frame nuts (1). Add shims or remove shims (2) as required. Tighten the nuts. Check the toe after you change the caster and the camber.
3. Caster-Transfer the shims from front to rear or from rear to front. The transfer of one shim from the rear bolt to the front bolt decreases positive caster.





4. Camber-Change the shims at the front and the rear of the cross shaft. Add an equal number of shims at the front and the rear of the cross shaft. This decreases positive camber.
5. A normal shim pack will leave at least two threads of the bolt exposed beyond the nut (1). The difference between the front shim pack and the rear shim pack must not exceed 10 mm (0.40 inch). If you cannot meet these requirements, check for damage to the control arms and to related parts.

Notice: Refer to Fastener Notice in Service Precautions.

6. Tighten the nut on the thinner shim pack first. This improves the shaft-to-frame clamping force. This also improves torque retention.
^ Tighten the nuts to 75 Nm (55 ft. lbs.).

Front Caster and Camber Adjustment (4WD)





Important: Before adjusting the caster angle and camber angle, raise and release the front bumper. Do this twice in order to allow the vehicle to return to a normal height.

1. Use the cams on the upper control arm frame attaching bolts to adjust the caster and the camber.

To adjust the caster and the camber, loosen the upper control arm-to-frame attaching nuts. Rotate the cam by rotating the bolt head.
^ Caster-To increase positive caster, move the front cam lobe inboard and move the rear cam lobe outboard.
^ Camber-To increase positive camber, move the front and the rear cam lobes inboard.

Notice: Refer to Fastener Notice in Service Precautions.

2. Tighten the nuts after you select the proper cam position.
^ Tighten the nuts to 115 Nm (85 ft. lbs.).

Front Toe Adjustment





Tie rod adjuster parts often rust in service. Discard the nuts and the bolts if the torque required to remove the nut from the bolt exceeds 9 Nm (80 inch lbs.) after breakaway.
Apply penetrating oil between the clamp and the tube. Rotate the clamps until the clamps move freely. Install new bolts and nuts with the correct part number if needed.
Change the length of the tie rods in order to increase or decrease toe-in. Use the threaded sleeve to change the length of the tie rods. When the tie rods are mounted ahead of the steering knuckle, the rods must be decreased in length to increase toe or increased in length to decrease toe.
Perform the following steps to make front toe adjustments:
1. Set the steering wheel in the straight ahead position.
2. Perform the toe adjustments separately at each side.
3. Determine the toe (3) from the alignment equipment.





4. Loosen the tie rod adjuster clamp bolts at each end to the tie rod adjuster sleeve.
5. Adjust the toe by turning the tie rod adjuster in order to achieve the proper toe specification.

Notice: Refer to Fastener Notice in Service Precautions.

6. Position the tie rod adjuster clamps.
^ Tighten the tie rod adjuster clamp bolts to 21 Nm (16 ft. lbs.).
7. Verify the number of threads showing on the tie rod ends at each side of the adjuster sleeve are equal within three threads.