Operation CHARM: Car repair manuals for everyone.
Manuals through 2025 now available!

Our trusted friends have launched a new website named LEMON, which has newer manuals. It also contains all the CHARM manuals.

LEMON is the spiritual successor to CHARM, I recommend you try it!

Link: lemon-manuals.la or lemon-manuals.org.ua

(Some people have issue connecting. LEMON is investigating. For now, use Firefox or change your DNS server)

Or, hide this message: temporarily or permanently

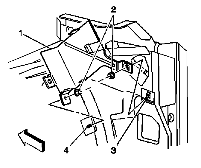
Bracket Assembly Replacement - OnStar Module

BRACKET ASSEMBLY REPLACEMENT - ONSTAR MODULE

REMOVAL PROCEDURE
1. Pull back enough of the carpet and the floor sound deadener for more access, if necessary.




2. Remove the OnStar(R) module from the bracket assembly.
3. Remove the retaining nut (2) from the dash pan stud (4).
4. Remove the retaining nut (2) from the hinge pillar stud (3).
5. Remove the bracket assembly (1) from the hinge pillar stud, and the dash pan stud.

INSTALLATION PROCEDURE




1. Install the bracket assembly (1) to the hinge pillar stud (3), and the dash pan stud (4).
2. Install the retaining nut (2) to the hinge pillar stud (3).

NOTE: Refer to Fastener Notice in Service Precautions.

Tighten
Tighten nut to 9.5 N.m (84 lb in).

3. Install the retaining nut (2) to the dash pan stud (4).

Tighten
Tighten nut to 9.5 N.m (84 lb in).

4. Install the OnStar(R) module to the bracket assembly.
5. Reposition the carpet and the floor sound deadener to a desired appearance, if necessary.