Operation CHARM: Car repair manuals for everyone.
Manuals through 2025 now available!

Our trusted friends have launched a new website named LEMON, which has newer manuals. It also contains all the CHARM manuals.

LEMON is the spiritual successor to CHARM, I recommend you try it!

Link: lemon-manuals.la or lemon-manuals.org.ua

(Some people have issue connecting. LEMON is investigating. For now, use Firefox or change your DNS server)

Or, hide this message: temporarily or permanently

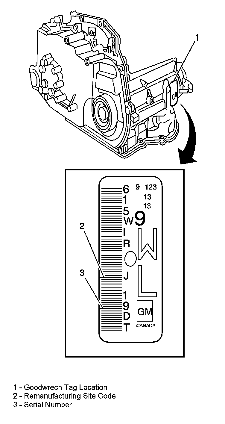
Transmission

TRANSMISSION ID AND VIN DERIVATIVE LOCATION




4T40 E/4T45 E Transmission ID and VIN Derivative Location, MN4/MN5

VIN Derivative Location 4T40-E/4T45-E




The Vehicle Identification Number (VIN) Derivative location for the 4T40-E Transmission (1).