Operation CHARM: Car repair manuals for everyone.
Manuals through 2025 now available!

Our trusted friends have launched a new website named LEMON, which has newer manuals. It also contains all the CHARM manuals.

LEMON is the spiritual successor to CHARM, I recommend you try it!

Link: lemon-manuals.la or lemon-manuals.org.ua

(Some people have issue connecting. LEMON is investigating. For now, use Firefox or change your DNS server)

Or, hide this message: temporarily or permanently

Seat Back Cover Replacement - Front

SEAT BACK COVER REPLACEMENT - FRONT

REMOVAL PROCEDURE
1. Remove the front bucket seat.
2. Remove the head restraint.




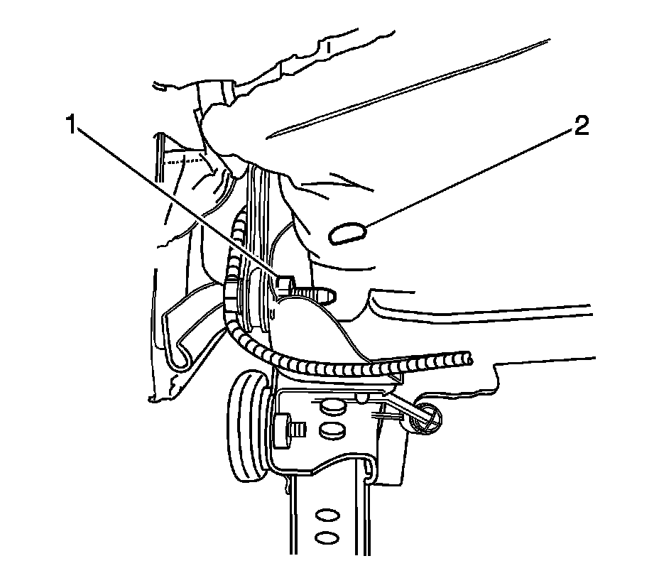
3. Unfasten the J-hook retainer (2) at the bottom of the seat back cover (1).




4. Pull back the rear of the seat cushion cover in order to access the loop tab (2) on the cover.
5. Remove the loop tab (2) from the seat back recliner bolt (1).




6. Pull out the seat back cover end flaps.




7. Unfasten the hook and the loop retainers which secure the seat back cover to the pad.
8. Remove the seat back cover, by pulling the cover up and over the pad.
9. Remove the head restraint retainers.
10. Remove the seat back cover from the pad.

INSTALLATION PROCEDURE




1. Position the seat back cover to the pad.
2. Install the head restraint retainers.
3. Pull the seat back cover over the pad and align the hook and the loop retainers.
4. Use firm hand pressure in order to engage the hook and the loop retainers.




5. Pull back the end flaps from the seat back cover.




6. Install the loop tab (2) to the seat back recliner bolt (1).
7. Pull back the rear of the seat cushion cover.




8. Fasten the J-hook retainer (2) at the bottom of the seat back cover (2).
9. Install the head restraint.
10. Install the bucket seat.