Operation CHARM: Car repair manuals for everyone.
Manuals through 2025 now available!

Our trusted friends have launched a new website named LEMON, which has newer manuals. It also contains all the CHARM manuals.

LEMON is the spiritual successor to CHARM, I recommend you try it!

Link: lemon-manuals.la or lemon-manuals.org.ua

(Some people have issue connecting. LEMON is investigating. For now, use Firefox or change your DNS server)

Or, hide this message: temporarily or permanently

Seat Back Recliner Replacement - Front

SEAT BACK RECLINER REPLACEMENT - FRONT

REMOVAL PROCEDURE
1. Remove the front bucket seat.
2. Adjust the seat back cushion cover to gain access to the upper recliner bolts. Refer to Seat Back Cover Replacement - Front.
3. Remove the seat back recliner handle.
4. Adjust the seat cushion cover to gain access to the lower recliner bolts. Refer to Seat Cushion Cover Replacement - Front.




5. On the outer recliner, perform the following steps:
1. Remove the cable conduit bracket bolt (3).
2. Rotate the cable conduit 90 degrees.
3. Remove the cable end (2) from the recliner (1).




6. On the inner recliner, perform the following steps:
1. Remove the cable conduit (2) from the recliner retainer.
2. Rotate the cable end (1) 90 degrees.
3. Remove the cable end (1) from the recliner (3).




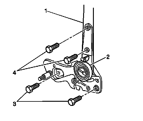
7. Remove the bolts (3, and 4) from the recliner (2).
8. Remove the recliner (2) from the seat cushion frame and the seat back frame (1).

INSTALLATION PROCEDURE




1. Position the recliner (2) to the seat cushion frame and the seat back frame (1).
2. Install the recliner bolts (4) to the seat back frame.

NOTE: Refer to Fastener Notice in Service Precautions.

Tighten the bolts to 18 N.m (13 lb ft).

3. Install the recliner bolts (3) to the cushion frame.

Tighten the bolts to 25 N.m (18 lb ft).




4. On the inner recliner, perform the following steps:
1. Install the cable end (1) to the recliner (3).
2. Rotate the cable end (1) 90 degrees.
3. Install the cable conduit (2) to the recliner retainer.




5. On the outer recliner, perform the following steps:
1. Install the cable end (2) to the recliner.
2. Rotate the cable conduit 90 degrees.
3. Install the cable conduit bracket bolt (3).

Tighten the bolt to 5 N.m (44 lb in).

6. Adjust the front seat cushion cover to a desired appearance. Refer to Seat Cushion Cover Replacement - Front.
7. Install the seat back recliner handle.
8. Adjust the seat back cover to a desired appearance. Refer to Seat Back Cover Replacement - Front.
9. Install the front bucket seat.