Operation CHARM: Car repair manuals for everyone.
Manuals through 2025 now available!

Our trusted friends have launched a new website named LEMON, which has newer manuals. It also contains all the CHARM manuals.

LEMON is the spiritual successor to CHARM, I recommend you try it!

Link: lemon-manuals.la or lemon-manuals.org.ua

(Some people have issue connecting. LEMON is investigating. For now, use Firefox or change your DNS server)

Or, hide this message: temporarily or permanently

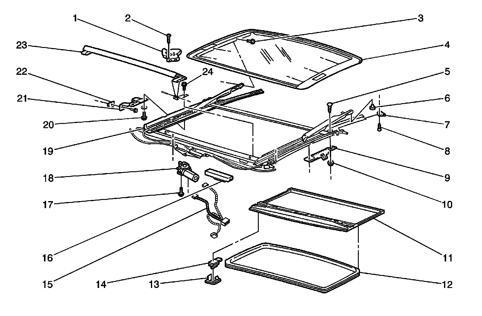
Sunroof / Moonroof



Power Sunroof Disassembled View




1 - Sunroof Opening Position Switch
2 - Sunroof Opening Position Switch Screw
3 - Sunroof Window Bolt/Screw
4 - Sunroof Window Panel
5 - Sunroof Module Bracket Bolt
6 - Sunroof Window Guide Bumper
7 - Sunroof Sunshade Stop
8 - Sunroof Sunshade Stop Screw
9 - Sunroof Module Bracket
10 - Sunroof Module Bracket Nut
11 - Sunroof Sunshade
12 - Sunroof Opening Trim Lace
13 - Sunroof Switch Bezel
14 - Sunroof Switch
15 - Sunroof Wiring Harness
16 - Sunroof Control Module
17 - Sunroof Actuator/Motor Bolt/screw
18 - Sunroof Actuator/Motor
19 - Sunroof Module Assembly
20 - Sunroof Module Bracket-to-Housing Bolt
21 - Sunroof Module Bracket
22 - Sunroof Module Bracket Roof Nut
23 - Sunroof Air Deflector
24 - Sunroof Air Deflector Bolt/Screw