Operation CHARM: Car repair manuals for everyone.
Manuals through 2025 now available!

Our trusted friends have launched a new website named LEMON, which has newer manuals. It also contains all the CHARM manuals.

LEMON is the spiritual successor to CHARM, I recommend you try it!

Link: lemon-manuals.la or lemon-manuals.org.ua

(Some people have issue connecting. LEMON is investigating. For now, use Firefox or change your DNS server)

Or, hide this message: temporarily or permanently

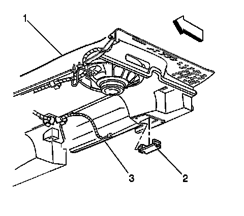
Trunk Lamp: Service and Repair

REAR COMPARTMENT LAMP REPLACEMENT

REMOVAL PROCEDURE
1. Open the rear compartment.




2. Release the tabs that retain the rear compartment lamp (2) to the rear shelf panel (1).
3. Disconnect the electrical connector (3) from the rear compartment lamp (2).
4. Remove the bulb from the rear compartment lamp (2).

INSTALLATION PROCEDURE




1. Install the bulb to the rear compartment lamp (2).
2. Connect the electrical connector (3) to the rear compartment lamp (2).
3. Press the rear compartment lamp (2) into the rear shelf panel (1) in order to engage the tabs.
4. Close the rear compartment.