Operation CHARM: Car repair manuals for everyone.
Manuals through 2025 now available!

Our trusted friends have launched a new website named LEMON, which has newer manuals. It also contains all the CHARM manuals.

LEMON is the spiritual successor to CHARM, I recommend you try it!

Link: lemon-manuals.la or lemon-manuals.org.ua

(Some people have issue connecting. LEMON is investigating. For now, use Firefox or change your DNS server)

Or, hide this message: temporarily or permanently

Accumulator: Service and Repair

Accumulator Assembly, Spacer Plate, and Gaskets

^ Tools Required
- J 2525-B Pump and Valve Body Alignment Pin Set
- J 36850 Trans-jel Lubricant

Removal Procedure





1. Remove the transmission oil pan and filter.

Important: The 1-2 accumulator can be removed without removing the control valve assembly.

2. Remove the control valve body.
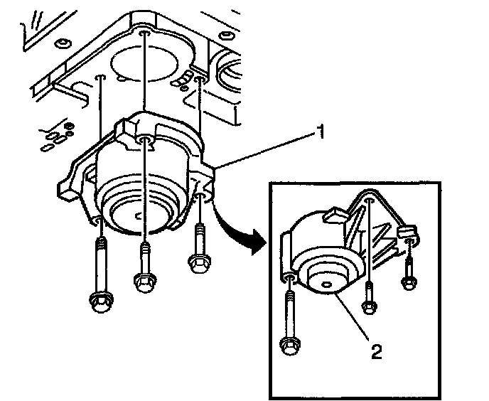
3. Remove the accumulator cover retaining bolts.
4. Remove the 1-2 accumulator cover assembly.
^ RWD (1)
^ 4WD (2)





5. Disassemble the 1-2 accumulator.
5.1. Blow compressed air into the 1-2 accumulator cover, as shown, to remove the 1-2 accumulator piston.
5.2. Remove the 1-2 accumulator inner and outer springs.
6. Inspect the 1-2 accumulator inner and outer springs for cracks.





7. Remove the 1-2 accumulator piston seal (1) from the 1-2 accumulator piston.
8. Inspect the 1-2 accumulator piston for the following defects:
^ Porosity
^ Cracks
^ Scoring
^ Nicks and scratches





9. Inspect the 1-2 accumulator cover for the following defects:
^ Porosity
^ Cracks
^ Scoring
^ Nicks and scratches





10. Remove the spacer plate support retaining bolts.
^ RWD (4)
^ 4WD (3, 4)

Important: Use care not to drop the following items that will be removed along with the spacer plate:
^ The number 1 checkball
^ The 3-4 accumulator spring

11. Remove the spacer plate support.
^ RWD (1)
^ 4WD (2)





12. Remove the following:
^ The spacer plate to valve body gasket
^ The spacer plate
^ The spacer plate to transmission case gasket





13. Remove the 3-4 accumulator piston (2).
14. Inspect the 3-4 accumulator spring for cracks.





15. Remove the 3-4 accumulator piston seal (1) from the 3-4 accumulator piston.
16. Inspect the 3-4 accumulator piston for the following defects:
^ Porosity
^ Cracks
^ Scoring
^ Nicks and scratches

Installation Procedure





1. Install a new 3-4 accumulator piston seal (1) to the 3-4 accumulator piston.





2. Install the 3-4 accumulator piston (2) onto the pin (1) in the transmission case. Ensure that the 3-4 accumulator piston legs face away from the transmission case.





3. Install the J 25025-B (2, 3) to the transmission case.





4. Install the spacer plate to transmission case gasket and the spacer plate to valve body gasket to the spacer plate; use J 36850 in order to retain the gaskets to the spacer plate.
^ The case gasket is identified by a C. Be sure to place the case gasket on the transmission case side of the spacer plate.
^ The valve body gasket is identified by a V. Be sure to place the valve body gasket on the valve body side of the spacer plate.
5. Ensure that the solenoid screens (1, 2) are in place on the spacer plate.
6. Use a small amount of J 36850 in order to retain the checkball (3) on the spacer plate in the location shown.
7. Place the 3-4 accumulator spring (4) on the spacer, plate.
8. Install the spacer plate and related components to the transmission.
9. Look through the hole in the spacer plate to ensure that the checkball has remained in the proper location (4WD only).






Notice: Refer to Fastener Notice in Service Precautions.

10. Install the spacer plate support and the spacer plate support retaining bolts.
^ Tighten the spacer plate support retaining bolts to 11 Nm (97 inch lbs.).
^ RWD (1)
^ 4WID (2)





11. After installing the spacer plate support (2), look through the hole in the spacer plate to ensure that the checkball (1) has remained in the proper location (RWD only).





12. Install a new 1-2 accumulator piston seal (1) to the 1-2 accumulator piston.





13. Install the 1-2 accumulator inner and outer springs to the 1-2 accumulator cover.
14. Install the 1-2 accumulator piston onto the pin in the 1-2 accumulator cover.
Ensure that the piston legs face the accumulator cover.





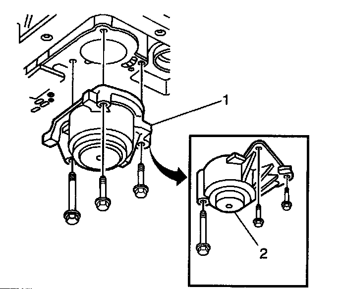
15. Install the 1-2 accumulator cover and the accumulator cover retaining bolts.
^ Tighten the accumulator cover retaining bolts to 11 Nm (97 inch lbs.).
^ RWD (1)
^ 4WD (2)
16. Remove the J 25025-B from the transmission case.
17. Install the control valve body.
18. Install the transmission filter and oil pan.