Operation CHARM: Car repair manuals for everyone.
Manuals through 2025 now available!

Our trusted friends have launched a new website named LEMON, which has newer manuals. It also contains all the CHARM manuals.

LEMON is the spiritual successor to CHARM, I recommend you try it!

Link: lemon-manuals.la or lemon-manuals.org.ua

(Some people have issue connecting. LEMON is investigating. For now, use Firefox or change your DNS server)

Or, hide this message: temporarily or permanently

Wiper Arm: Service and Repair

WIPER ARM REPLACEMENT

TOOLS REQUIRED
J 39637 Wiper Arm Puller

REMOVAL PROCEDURE




1. Open the hood.
2. Remove the wiper arm nut cap(s) and discard.




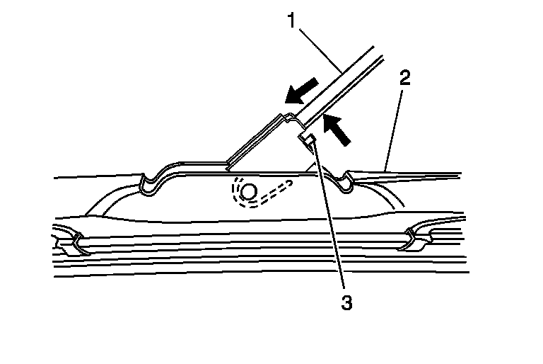
3. Remove the wiper arm nut (2) from the wiper arm (1).




4. Using a J 39637 or equivalent, remove the wiper arm from the wiper arm pivot shaft if the wiper arm fails to release from the pivot shaft with a rocking motion.




5. Release the wiper arm blade (2) from the wiper arm (1).




6. Clean the pivot shaft knurls (1) with a soft wire brush.

INSTALLATION PROCEDURE




1. Install the wiper arm blade (2) to the new wiper arm (1).




2. Lift the wiper blade off the windshield and install the wiper arm (1) to the wiper arm pivot shaft (2).
3. Align the tip of the wiper blade with the round dot in the blackout area of the windshield.




4. For the passenger side blade (2), ensure the wiper blade tip is held in position to the alignment dot (1) on the windshield.




5. For the driver side blade (2), ensure the wiper blade tip is held in position to the alignment dot (1) on the windshield.
6. Holding the wiper blade to the windshield dot, install the wiper arm nut.

NOTE: Refer to Fastener Notice in Service Precautions.

7. Continue holding the wiper blade in position while tightening the nut.

Tighten
Tighten the wiper arm nut to 33-38 N.m (24-28 lb ft).

8. Install new wiper arm nut covers.
9. Close the hood.