Operation CHARM: Car repair manuals for everyone.
Manuals through 2025 now available!

Our trusted friends have launched a new website named LEMON, which has newer manuals. It also contains all the CHARM manuals.

LEMON is the spiritual successor to CHARM, I recommend you try it!

Link: lemon-manuals.la or lemon-manuals.org.ua

(Some people have issue connecting. LEMON is investigating. For now, use Firefox or change your DNS server)

Or, hide this message: temporarily or permanently

Expansion Block/Orifice Tube: Service and Repair

EXPANSION (ORIFICE) TUBE REPLACEMENT

TOOLS REQUIRED
- J 26549-E Orifice Tube Remover
- J 39400-A Halogen Leak Detector







REMOVAL PROCEDURE
1. Recover the refrigerant from the A/C system.
2. Remove the front evaporator tube to rear evaporator tube retaining bolt.
3. Disconnect the front evaporator tube from the rear evaporator tube.

IMPORTANT: Cap or tape the open A/C Components immediately to prevent system contamination.

4. Remove and discard the O-ring.
5. Cap or tape the rear evaporator tube.







6. Using J 26549-E remove the orifice tube.







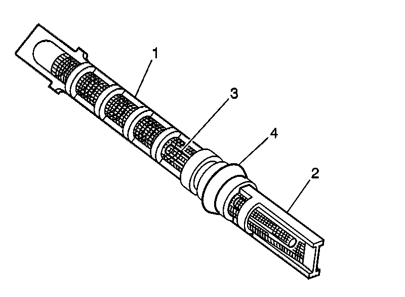
7. Inspect the expansion (orifice) tube for the following conditions and clean or replace with a new tube as indicated:
- Broken plastic frame; replace the tube
- Filter screen (1, 2) torn, damaged or plugged with fine gritty material; replace the tube
- Brass orifice tube (3) damaged or plugged; replace the tube
- Filter screen (1) coated with metal chips, flakes or slivers; coating may be removed with low pressure shop air and reused if cleaned satisfactorily
If reusing the orifice tube, install a new O-ring (4)







INSTALLATION PROCEDURE
1. Remove the cap or tape from the rear evaporator tube.
2. Install the tube (short filter screen outlet side first) fully into the front evaporator tube.
3. Install new O-rings to the expansion tube.







4. Connect the front evaporator tube to the rear evaporator tube.
5. Install the front evaporator tube to rear evaporator tube retaining bolt.

NOTE: Refer to Fastener Notice in Service Precautions.

Tighten
Tighten the bolt to 25 N.m (18 lb ft).

6. Evacuate and recharge the A/C system. Refer to Refrigerant Recovery and Recharging.
7. Leak test the fittings of the component using J 39400-A.